标题:
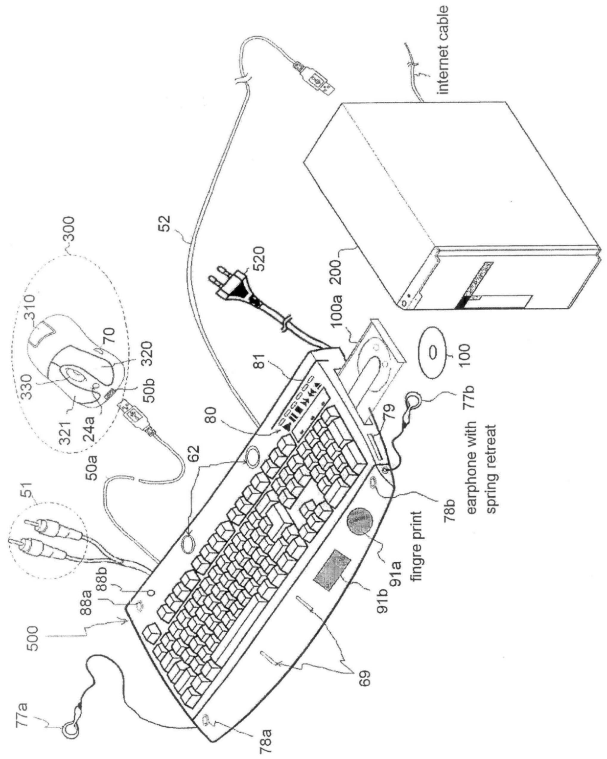
발명의 명칭 바이오 마우스 및 바이오 키보드를 포함하는 원격 의료 진단 장치 및 이를 이용하는 방법
授权日:
2015-11-25
公开(公告)号:
KR101573212B1
申请日:
2009-03-02
公开(公告)日:
2015-12-02
当前申请(专利权)人:
삼성전자주식회사
发明人:
YOO JAE CHERN
简单同族:
CN101959449A | CN101959449B | EP2248461A2 | EP2248461A4 | EP2248461B1 | KR101573212B1 | KR1020110080124A | US20110015504A1 | US20140330103A1 | US8764655 | WO2009110702A2 | WO2009110702A3
简单同族成员数量:
12
简单同族被引用专利总数:
117
诉讼案件数:
0
法律状态/事件:
授权