首页
专利数据库
产业人才
行业动态
产业政策法规
维权援助
个人中心
登录/注册
详情
文本
图像
标题:
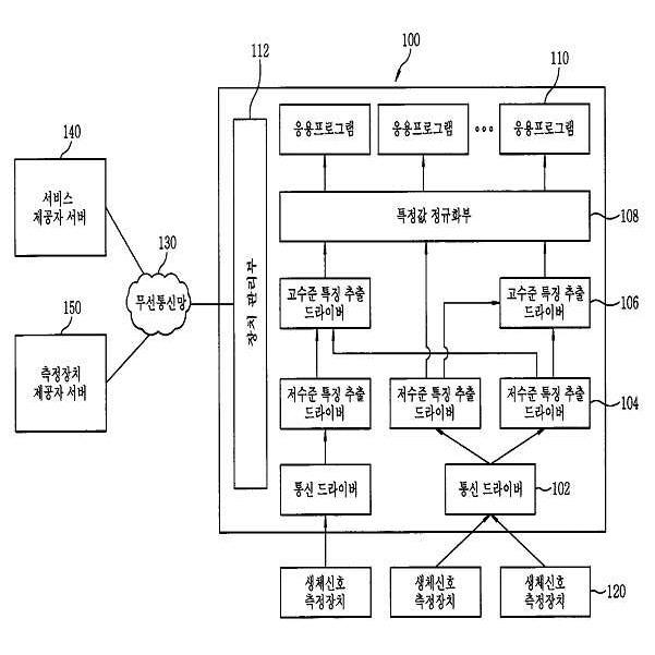
생체신호 측정 장치들의 상호 협업 방법 및 시스템
授权日:
1900-01-01
公开(公告)号:
KR1020090061153A
申请日:
2007-12-11
公开(公告)日:
2009-06-16
当前申请(专利权)人:
한국전자통신연구원
发明人:
강규창 | 하기룡 | 김영성 | 강동오 | 이전우
简单同族:
JP2009142635A | JP4796097B2 | KR100966590B1 | KR1020090061153A | US20090150082A1
简单同族成员数量:
5
简单同族被引用专利总数:
14
诉讼案件数:
0
法律状态/事件:
未缴年费 | 权利转移