首页
专利数据库
产业人才
行业动态
产业政策法规
维权援助
个人中心
登录/注册
详情
文本
图像
标题:
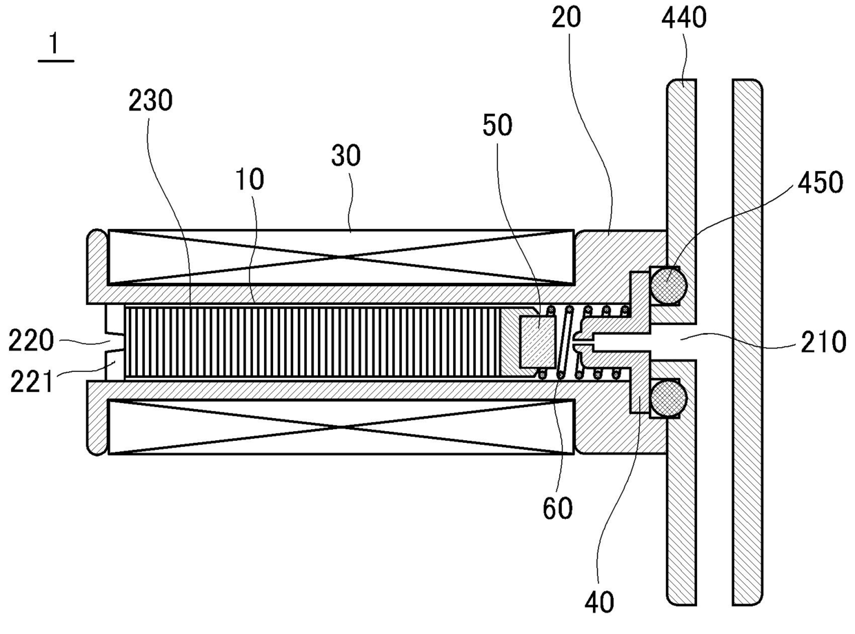
혈압계용 배기 밸브 장치 및 이를 적용한 손목형 혈압 측정 장치
授权日:
1900-01-01
公开(公告)号:
KR1020170033134A
申请日:
2015-09-16
公开(公告)日:
2017-03-24
当前申请(专利权)人:
이동화
发明人:
이동화
简单同族:
KR101816709B1 | KR1020170033134A
简单同族成员数量:
2
简单同族被引用专利总数:
0
诉讼案件数:
0
法律状态/事件:
授权