首页
专利数据库
产业人才
行业动态
产业政策法规
维权援助
个人中心
登录/注册
详情
文本
图像
标题:
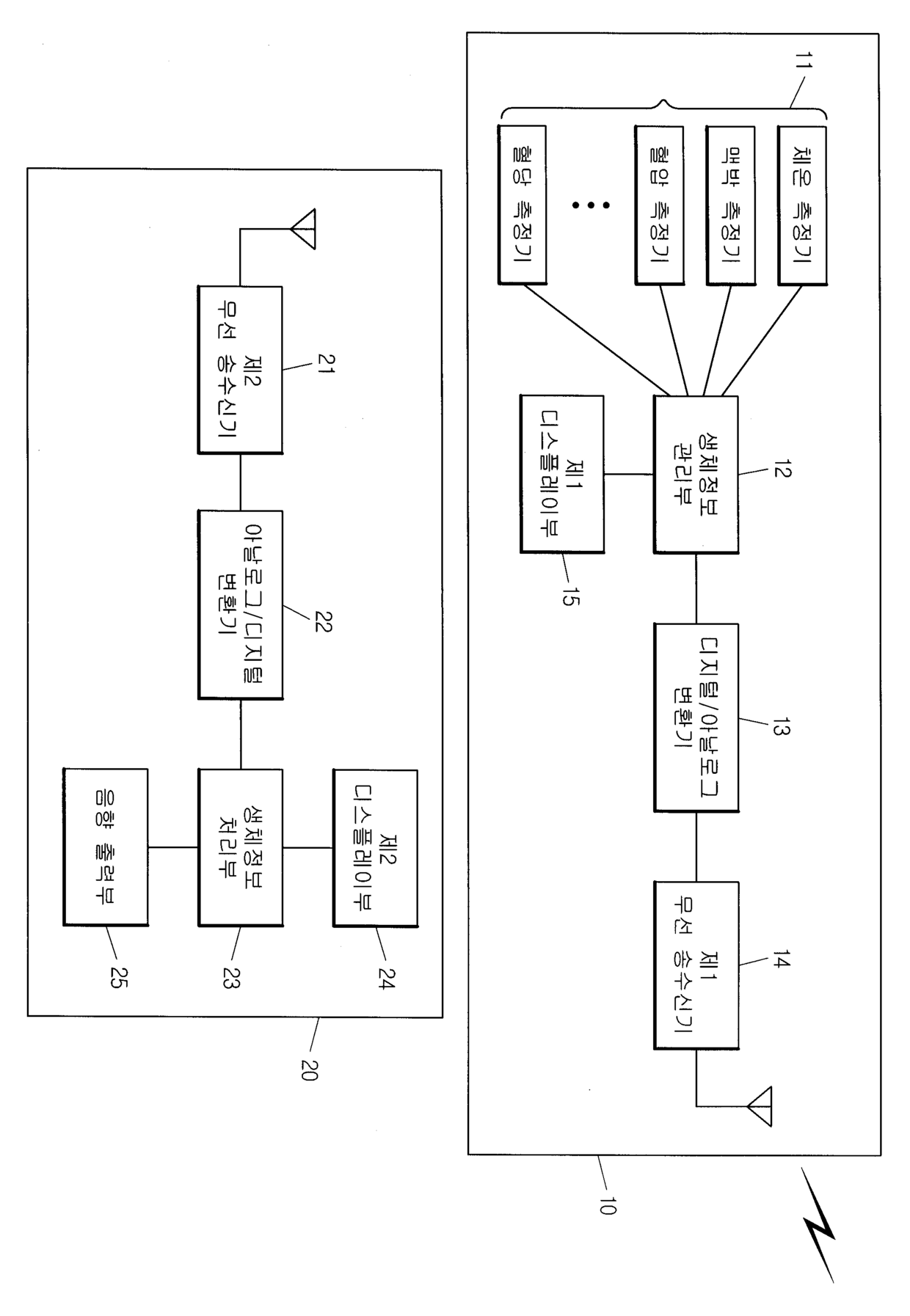
휴대용 단말기를 이용한 생체 정보 관리 시스템
授权日:
1900-01-01
公开(公告)号:
KR1020050099780A
申请日:
2004-04-12
公开(公告)日:
2005-10-17
当前申请(专利权)人:
주식회사 팬택앤큐리텔
发明人:
김하성 | 손성우
简单同族:
KR1020050099780A
简单同族成员数量:
1
简单同族被引用专利总数:
8
诉讼案件数:
0
法律状态/事件:
撤回