首页
专利数据库
产业人才
行业动态
产业政策法规
维权援助
个人中心
登录/注册
详情
文本
图像
标题:
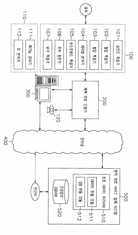
재택 의료 단말기 및 이를 이용한 네트워크 재택 의료진단 시스템 및 그 진단 방법
授权日:
1900-01-01
公开(公告)号:
KR1020030025748A
申请日:
2001-09-24
公开(公告)日:
2003-03-29
当前申请(专利权)人:
주식회사 엘바이오
发明人:
김희찬 | 천홍구 | 김기정
简单同族:
KR1020030025748A
简单同族成员数量:
1
简单同族被引用专利总数:
7
诉讼案件数:
0
法律状态/事件:
驳回