标题:
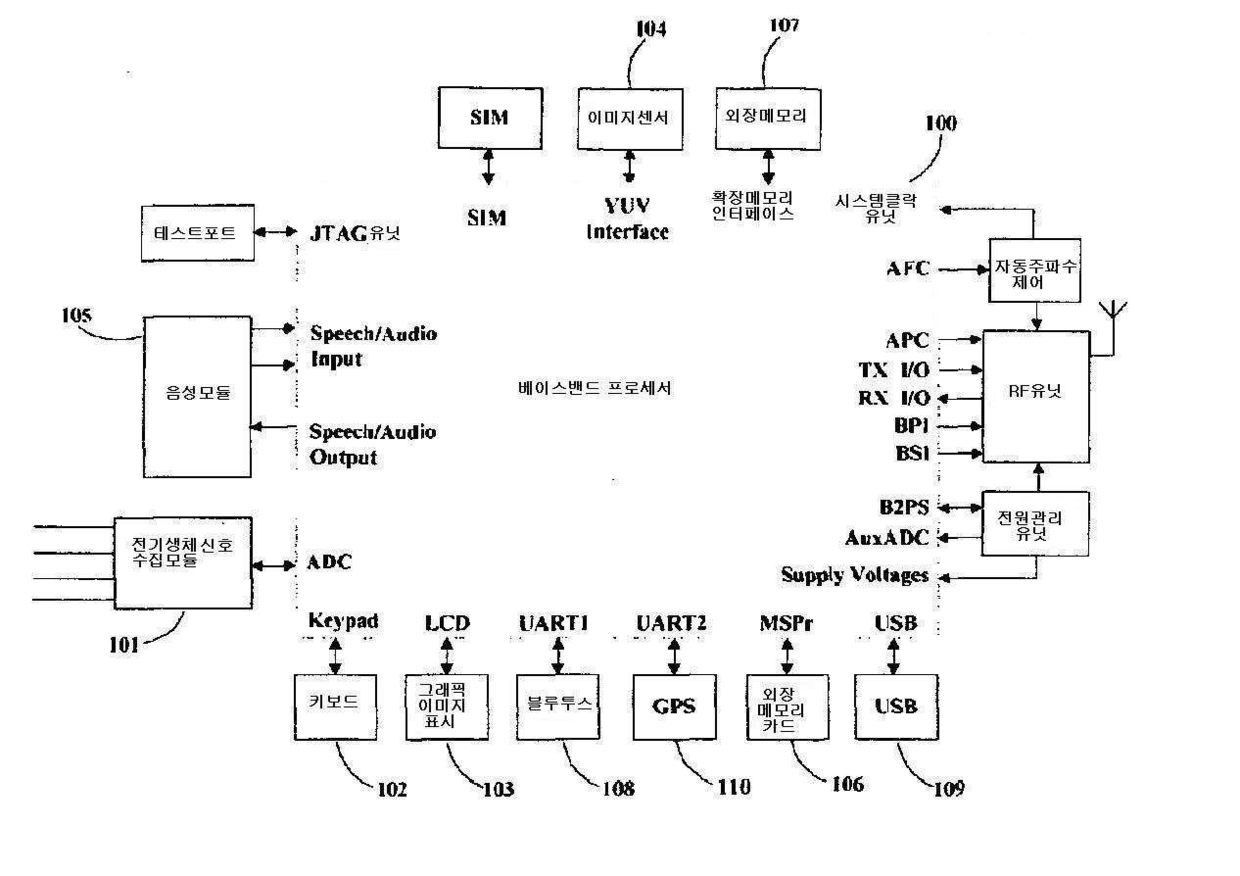
전기 생체 데이터와 병리 이미지를 모니터링하는 모바일 네트워크 단말장치 및 방법
授权日:
1900-01-01
公开(公告)号:
KR1020110092350A
申请日:
2009-04-21
公开(公告)日:
2011-08-17
当前申请(专利权)人:
장 징징
发明人:
장징징 | 가오하이칭 | 자오용강 | 리우샤오웬 | 저우유지에 | 주샤오홍 | 첸윤다이
简单同族:
AU2009321988A1 | AU2009321988B2 | CN101427916A | CN101427916B | KR101512009B1 | KR1020110092350A | US20110273309A1 | US8836535 | WO2010063158A1
简单同族成员数量:
9
简单同族被引用专利总数:
71
诉讼案件数:
0
法律状态/事件:
授权