标题:
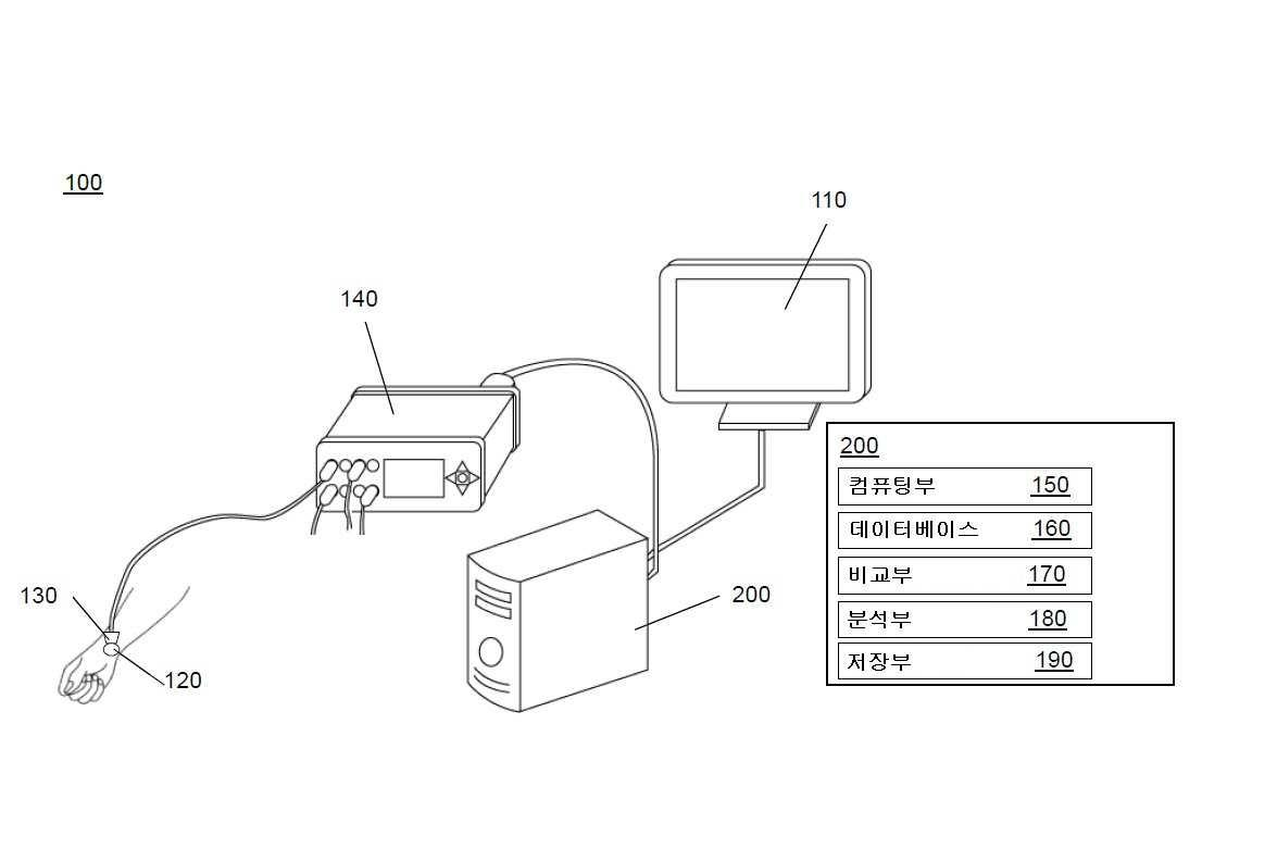
발명의 명칭 대상의 피부 국부적 열 충혈 반응을 나타내는 혈관 확장 데이터를 획득하는 방법 및 장치
授权日:
2016-06-08
公开(公告)号:
KR101630292B1
申请日:
2013-03-26
公开(公告)日:
2016-06-14
当前申请(专利权)人:
뉴차이니즈 바이오테크놀로지 코포레이션 엘티디.
发明人:
후앙,청신 | 차이,유안핀 | 왕,슈펜
简单同族:
AU2013242693A1 | AU2013242693B2 | CA2867915A1 | CA2867915C | CN104185447A | CN104185447B | EP2830503A1 | EP2830503A4 | EP2830503B1 | ES2659488T3 | JP2015514458A | JP5923214B2 | KR101630292B1 | KR1020140139081A | RU2576505C1 | TW201340933A | TWI561212B | US20150065888A1 | WO2013143444A1
简单同族成员数量:
19
简单同族被引用专利总数:
6
诉讼案件数:
0
法律状态/事件:
授权