首页
专利数据库
产业人才
行业动态
产业政策法规
维权援助
个人中心
登录/注册
详情
文本
图像
标题:
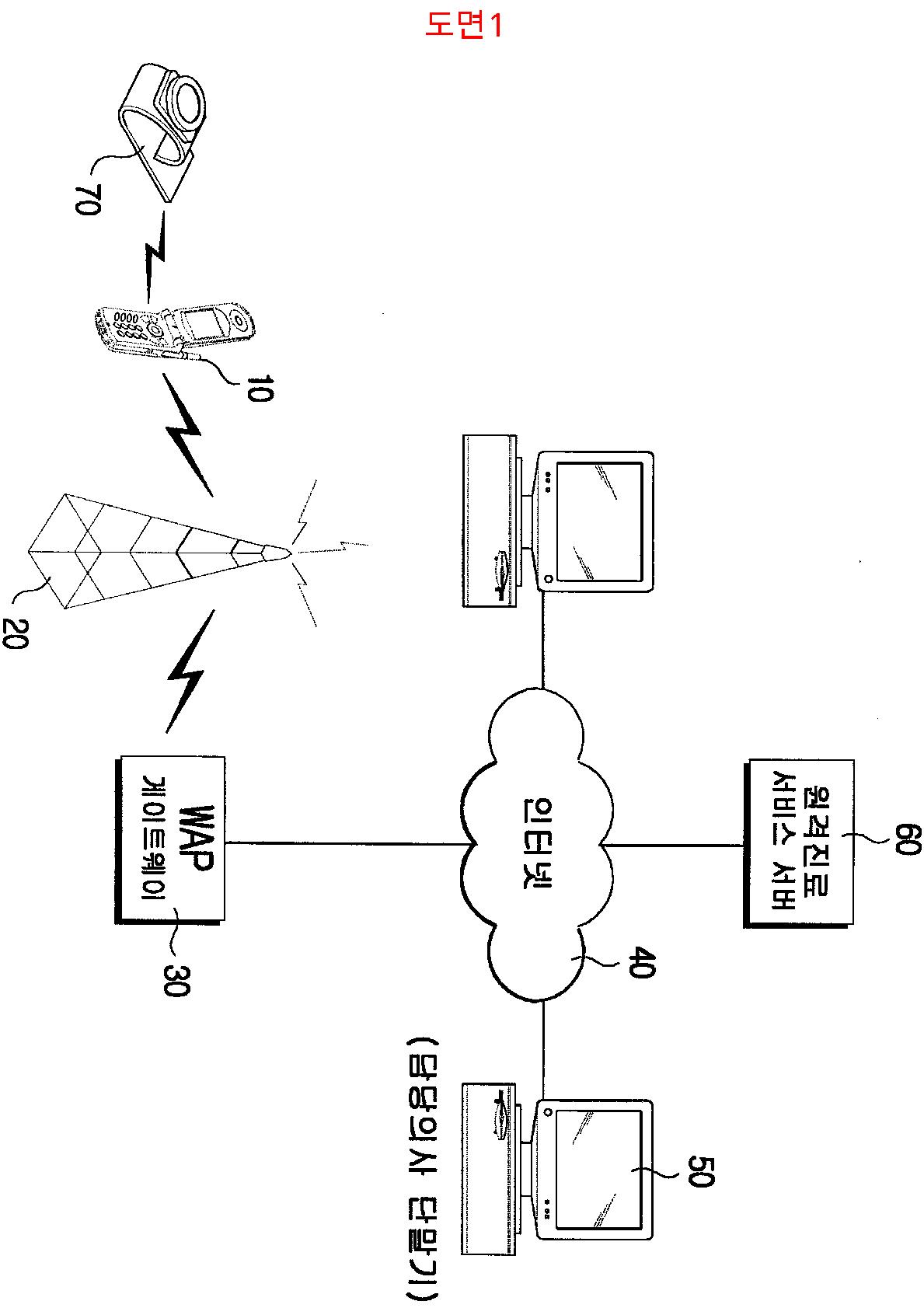
혈압 측정 시스템
授权日:
1900-01-01
公开(公告)号:
KR1020040064820A
申请日:
2003-01-10
公开(公告)日:
2004-07-21
当前申请(专利权)人:
주식회사 헬스피아
发明人:
이민화
简单同族:
KR100618624B1 | KR1020040064820A
简单同族成员数量:
2
简单同族被引用专利总数:
12
诉讼案件数:
0
法律状态/事件:
未缴年费 | 复审 | 异议