首页
专利数据库
产业人才
行业动态
产业政策法规
维权援助
个人中心
登录/注册
详情
文本
图像
标题:
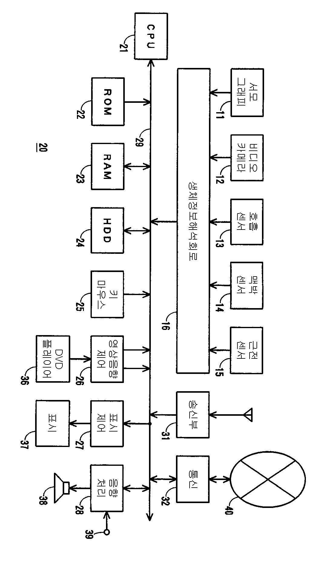
생체정보의 처리장치 및 영상음향 재생장치
授权日:
1900-01-01
公开(公告)号:
KR1020060048367A
申请日:
2005-06-15
公开(公告)日:
2006-05-18
当前申请(专利权)人:
소니 주식회사
发明人:
시라이가츠야 | 사코요이치로 | 데라우치도시로 | 이노우에마코토 | 아스카이마사미치 | 미야지마야스시 | 마키노겐이치 | 다카이모토유키
简单同族:
CN1711961A | EP1609418A1 | JP2006006355A | KR1020060048367A | US20050283055A1
简单同族成员数量:
5
简单同族被引用专利总数:
99
诉讼案件数:
0
法律状态/事件:
撤回