首页
专利数据库
产业人才
行业动态
产业政策法规
维权援助
个人中心
登录/注册
详情
文本
图像
标题:
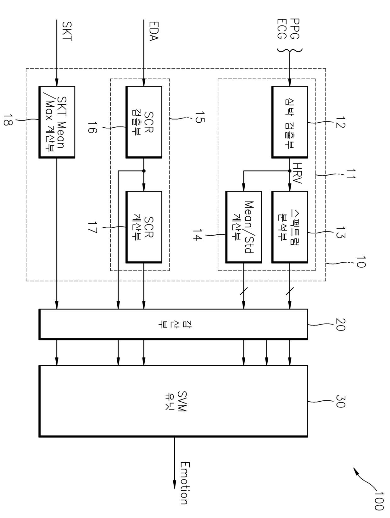
생리 신호의 단시간 모니터링을 통한 사용자 정서 인식장치 및 방법
授权日:
1900-01-01
公开(公告)号:
KR1020030063640A
申请日:
2002-01-23
公开(公告)日:
2003-07-31
当前申请(专利权)人:
삼성전자주식회사
发明人:
김경환 | 방석원 | 공동건
简单同族:
JP2004000474A | JP4101069B2 | KR100580618B1 | KR1020030063640A | US20030139654A1 | US7547279
简单同族成员数量:
6
简单同族被引用专利总数:
153
诉讼案件数:
0
法律状态/事件:
放弃 | 复审 | 异议