首页
专利数据库
产业人才
行业动态
产业政策法规
维权援助
个人中心
登录/注册
详情
文本
图像
标题:
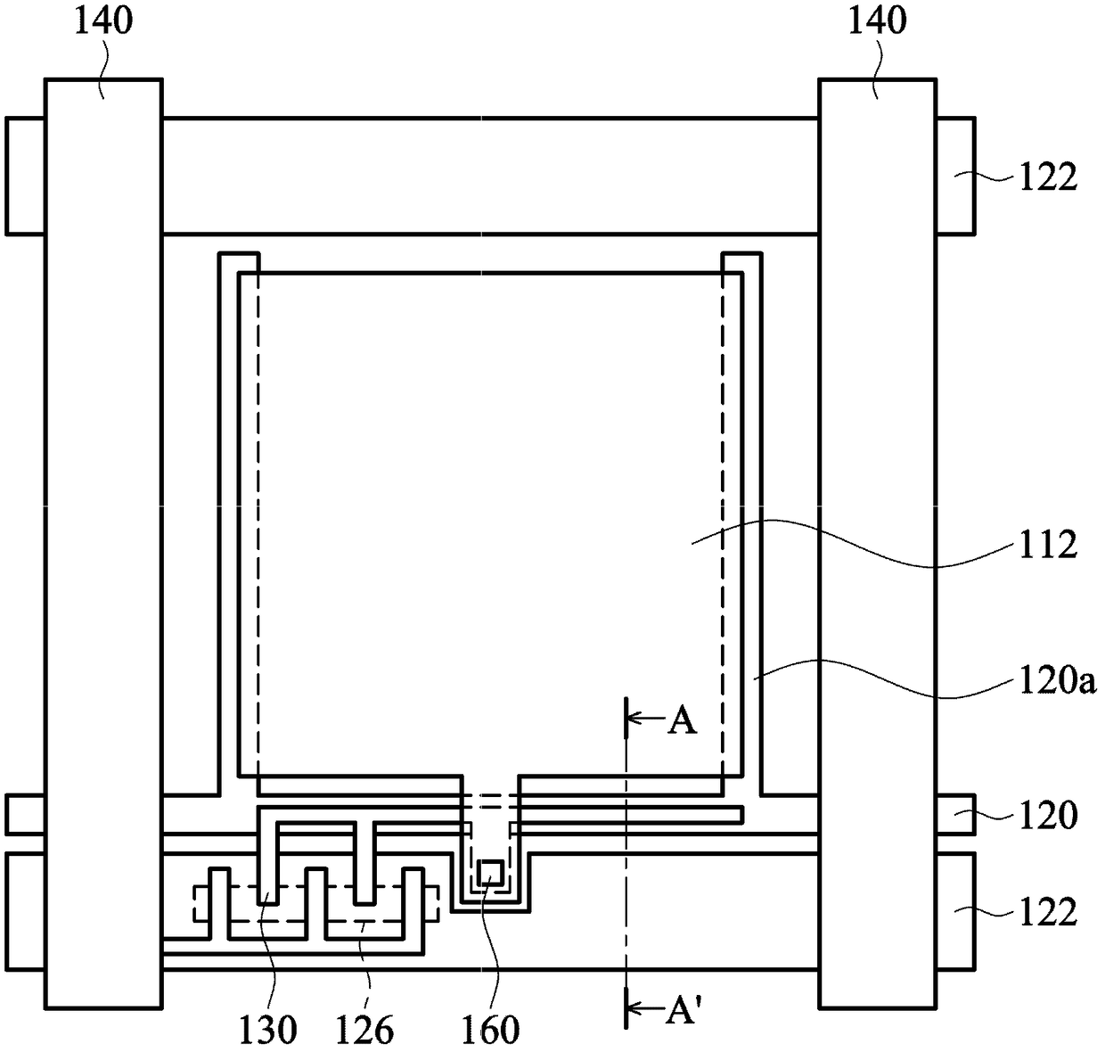
垂直配向型液晶显示装置
授权日:
1900-01-01
公开(公告)号:
CN103163675A
申请日:
2011-12-13
公开(公告)日:
2013-06-19
当前申请(专利权)人:
群康科技(深圳)有限公司 | 奇美电子股份有限公司
发明人:
陈英仁 | 黄奕达 | 刘维钧 | 谢志勇
简单同族:
CN103163675A
简单同族成员数量:
1
简单同族被引用专利总数:
0
诉讼案件数:
0
法律状态/事件:
撤回