首页
专利数据库
产业人才
行业动态
产业政策法规
维权援助
个人中心
登录/注册
详情
文本
图像
标题:
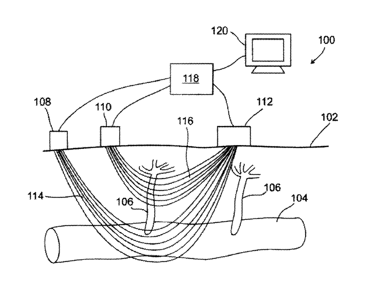
Obtaining cardiovascular parameters using arterioles related transient time
授权日:
2019-01-01
公开(公告)号:
US10165955
申请日:
2015-02-03
公开(公告)日:
2019-01-01
当前申请(专利权)人:
RAHMAN, EILON | GLADSHTEIN, REUVEN
发明人:
GLADSHTEIN, REUVEN | RAHMAN, EILON
简单同族:
GB201501957D0 | GB2524160A | US10165955 | US20160367154A1 | US20190150763A1
简单同族成员数量:
5
简单同族被引用专利总数:
16
诉讼案件数:
0
法律状态/事件:
授权 | 权利转移