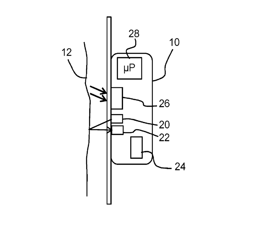
标题:
System and method for detecting when a sensor is worn
授权日:
1900-01-01
公开(公告)号:
US20170296124A1
申请日:
2017-04-12
公开(公告)日:
2017-10-19
当前申请(专利权)人:
KONINKLIJKE PHILIPS N.V.
发明人:
CREEMERS, ROY JOHANNES HENDRIKUS GERARDUS | STASSEN, MAURICE LEONARDUS ANNA
简单同族:
CN109152542A | EP3445234A1 | JP2019513489A | JP2019513489A5 | US20170296124A1 | WO2017182456A1
简单同族成员数量:
6
简单同族被引用专利总数:
6
诉讼案件数:
0
法律状态/事件:
撤回 | 权利转移