标题:
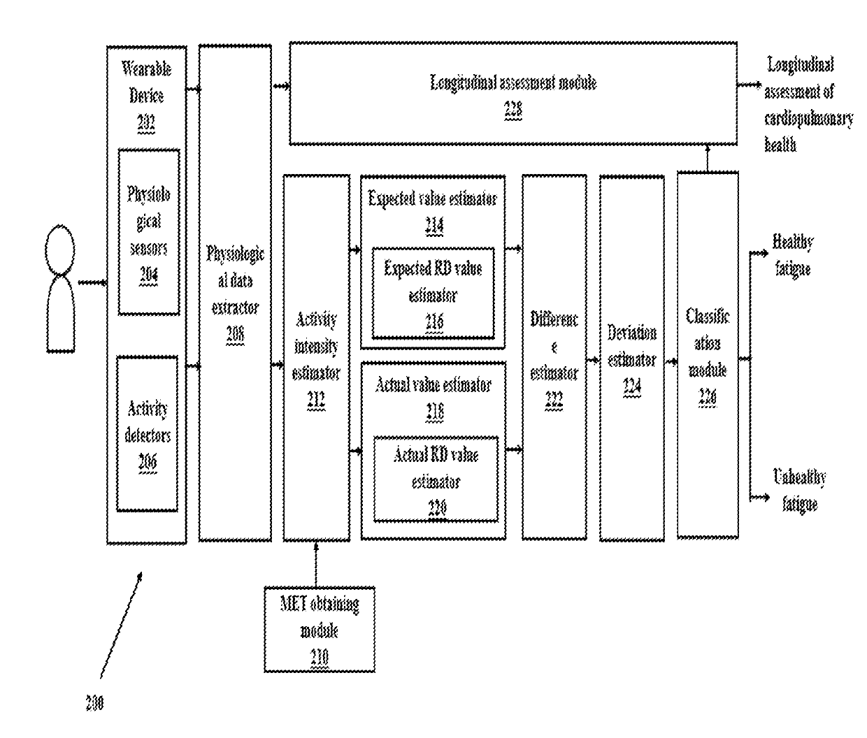
System and method to classify cardiopulmonary fatigue
授权日:
1900-01-01
公开(公告)号:
US20190138688A1
申请日:
2018-11-02
公开(公告)日:
2019-05-09
当前申请(专利权)人:
TATA CONSULTANCY SERVICES LIMITED
发明人:
CHANDEL, VIVEK | JANI, DHAVAL SATISH | KHANDELWAL, SUNDEEP | MUKHOPADHYAY, SHALINI | JAISWAL, DIBYANSHU | GHOSE, AVIK | PAL, ARPAN | MURALIDHARAN, KARTIK
简单同族:
EP3479759A1 | US20190138688A1
简单同族成员数量:
2
简单同族被引用专利总数:
0
诉讼案件数:
0
法律状态/事件:
公开 | 权利转移