首页
专利数据库
产业人才
行业动态
产业政策法规
维权援助
个人中心
登录/注册
详情
文本
图像
标题:
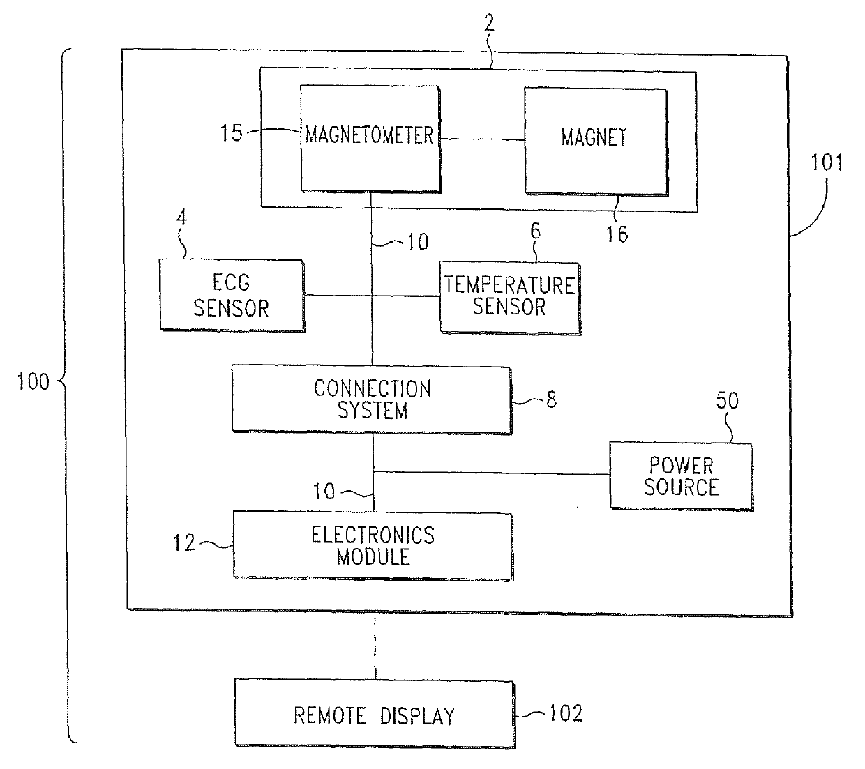
Respiration monitoring system and method
授权日:
2019-06-11
公开(公告)号:
US10314517
申请日:
2018-08-30
公开(公告)日:
2019-06-11
当前申请(专利权)人:
MEDICAL DESIGN SOLUTIONS, INC.
发明人:
STONE, ROBERT T
简单同族:
US10064570 | US10314517 | US20160228038A1 | US20180368732A1
简单同族成员数量:
4
简单同族被引用专利总数:
7
诉讼案件数:
0
法律状态/事件:
授权