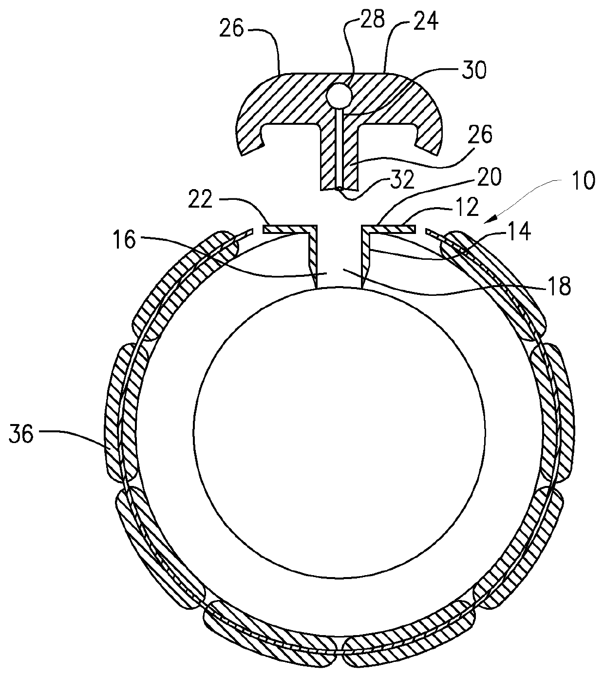
标题:
Implantable vital sign sensor
授权日:
1900-01-01
公开(公告)号:
US20190350468A1
申请日:
2019-08-01
公开(公告)日:
2019-11-21
当前申请(专利权)人:
THOMAS JEFFERSON UNIVERSITY
发明人:
JOSEPH, JEFFREY I.
简单同族:
CN107708527A | EP3280315A1 | US10413200 | US10602936 | US20160287094A1 | US20160287174A1 | US20170360312A1 | US20190313923A1 | US20190350468A1 | US9629560 | WO2016164199A1
简单同族成员数量:
11
简单同族被引用专利总数:
5
诉讼案件数:
0
法律状态/事件:
实质审查 | 权利转移