标题:
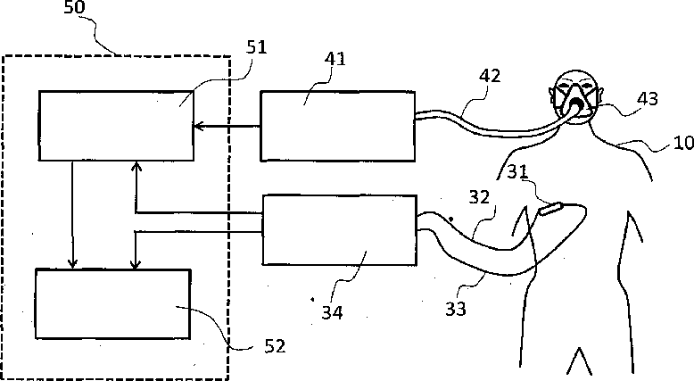
Apparatus and Method for Monitoring Respiration Volumes and Synchronization of Triggering in Mechanical Ventilation by Measuring the Local Curvature of the Torso Surface
授权日:
1900-01-01
公开(公告)号:
US20150289785A1
申请日:
2013-08-29
公开(公告)日:
2015-10-15
当前申请(专利权)人:
DIASENS D.O.O.
发明人:
BOJOVIC, BOSKO | VUKCEVIC, MIODRAG | PETROVIC, JOVANA | PETROVIC, MARIJA | ILIC, IGOR | DANICIC, ALEKSANDAR | ALLSOP, THOMAS | HADZIEVSKI, LJUPCO
简单同族:
CN104736056A | EP2890296A1 | RS20120373A1 | US20150289785A1 | WO2014035272A1
简单同族成员数量:
5
简单同族被引用专利总数:
8
诉讼案件数:
0
法律状态/事件:
撤回