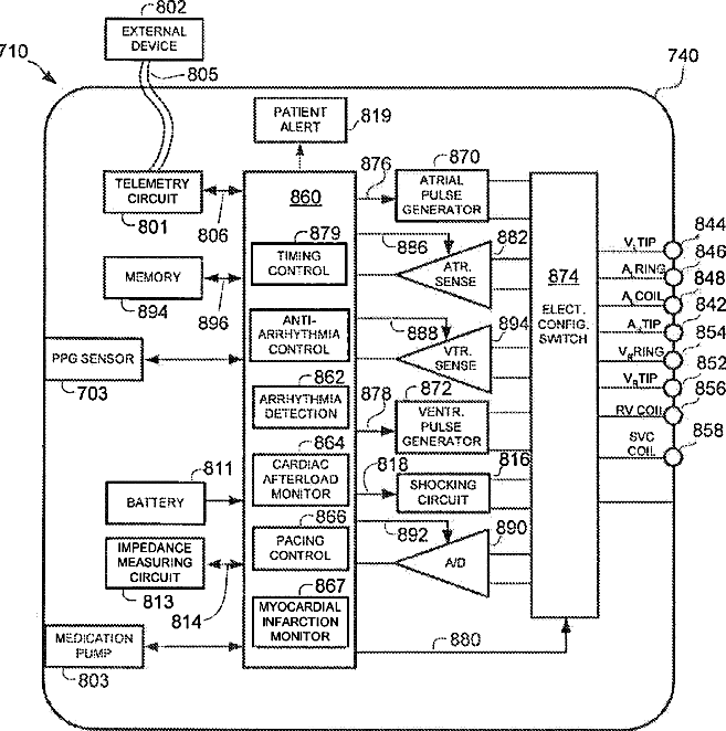
标题:
Methods and systems that monitor for an impending myocardial infarction
授权日:
1900-01-01
公开(公告)号:
US20140155707A1
申请日:
2014-02-04
公开(公告)日:
2014-06-05
当前申请(专利权)人:
PACESETTER, INC.
发明人:
FAYRAM, TIMOTHY A. | DOKKO, DANIELL | FARAZI, TARANEH GHAFFARI | CARLSON, MARK
简单同族:
US20110009712A1 | US20140155707A1 | US8672855 | US9022945
简单同族成员数量:
4
简单同族被引用专利总数:
16
诉讼案件数:
0
法律状态/事件:
授权