首页
专利数据库
产业人才
行业动态
产业政策法规
维权援助
个人中心
登录/注册
详情
文本
图像
标题:
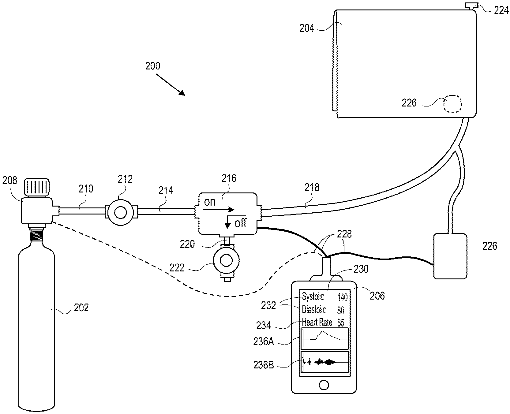
Patient monitoring system
授权日:
1900-01-01
公开(公告)号:
US20180333055A1
申请日:
2018-05-23
公开(公告)日:
2018-11-22
当前申请(专利权)人:
CERCACOR LABORATORIES, INC.
发明人:
LAMEGO, MARCELO M. | KIANI, MASSI JOE E. | POEZE, JEROEN | DALVI, CRISTIANO | VO, HUNG
简单同族:
US20140163402A1 | US20180333055A1 | US9986919 | WO2013170095A1
简单同族成员数量:
4
简单同族被引用专利总数:
233
诉讼案件数:
0
法律状态/事件:
实质审查 | 权利转移