首页
专利数据库
产业人才
行业动态
产业政策法规
维权援助
个人中心
登录/注册
详情
文本
图像
标题:
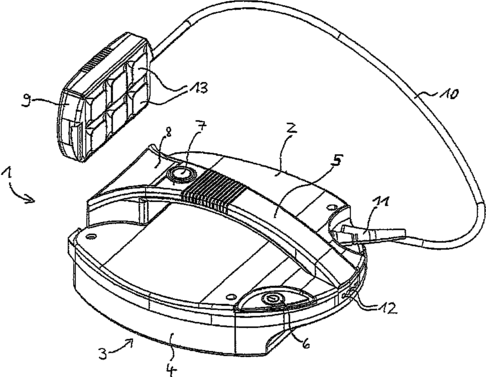
ECG hand-held device
授权日:
2016-09-20
公开(公告)号:
US9445735
申请日:
2013-06-18
公开(公告)日:
2016-09-20
当前申请(专利权)人:
CAPICAL GMBH
发明人:
BOEGE, HENNING | OEHLER, MARTIN | KAUTZNER, INSA | NEUMANN, MANFRED
简单同族:
CN104507385A | CN104507385B | DE102012105306A1 | EP2861135A1 | KR1020150018886A | US20150190066A1 | US9445735 | WO2013189902A1
简单同族成员数量:
8
简单同族被引用专利总数:
9
诉讼案件数:
0
法律状态/事件:
授权 | 权利转移