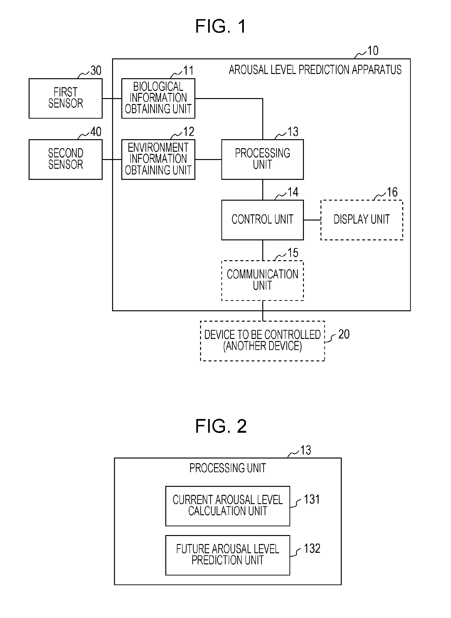
标题:
Method for predicting arousal level and arousal level prediction apparatus
授权日:
1900-01-01
公开(公告)号:
US20170020432A1
申请日:
2016-07-06
公开(公告)日:
2017-01-26
当前申请(专利权)人:
PANASONIC INTELLECTUAL PROPERTY CORPORATION OF AMERICA
发明人:
KUSUKAME, KOICHI | SHIKII, SHINICHI | FUNASE, KAZUKI
简单同族:
CN106361270A | JP2017127616A | JP2017148604A | JP2017164526A | JP6666299B2 | JP6666300B2 | JP6672096B2 | US10362980 | US20170020432A1
简单同族成员数量:
9
简单同族被引用专利总数:
14
诉讼案件数:
0
法律状态/事件:
授权 | 权利转移