首页
专利数据库
产业人才
行业动态
产业政策法规
维权援助
个人中心
登录/注册
详情
文本
图像
标题:
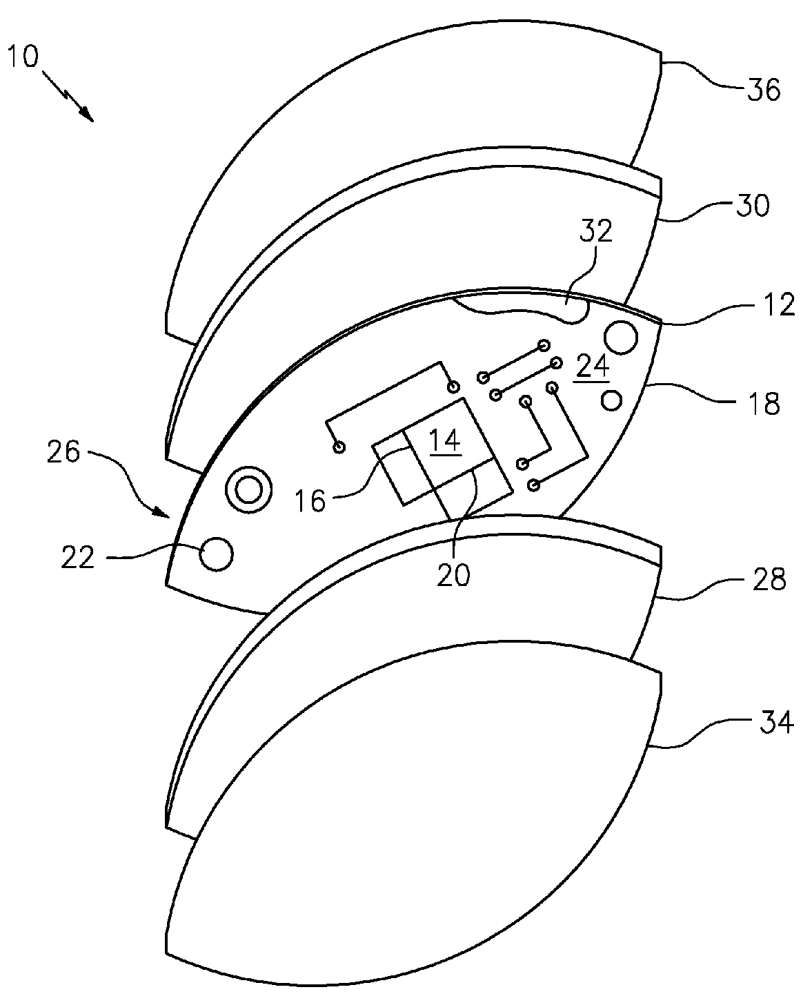
Padded, flexible encasing for body monitoring systems in fabrics
授权日:
1900-01-01
公开(公告)号:
US20180317845A1
申请日:
2017-07-06
公开(公告)日:
2018-11-08
当前申请(专利权)人:
BLOOMER HEALTH TECH., INC.
发明人:
CHONG RODRIGUEZ, ALICIA | ABARCA ABARCA, MONICA LUCIA
简单同族:
US10456080 | US20180317845A1
简单同族成员数量:
2
简单同族被引用专利总数:
0
诉讼案件数:
0
法律状态/事件:
授权 | 权利转移