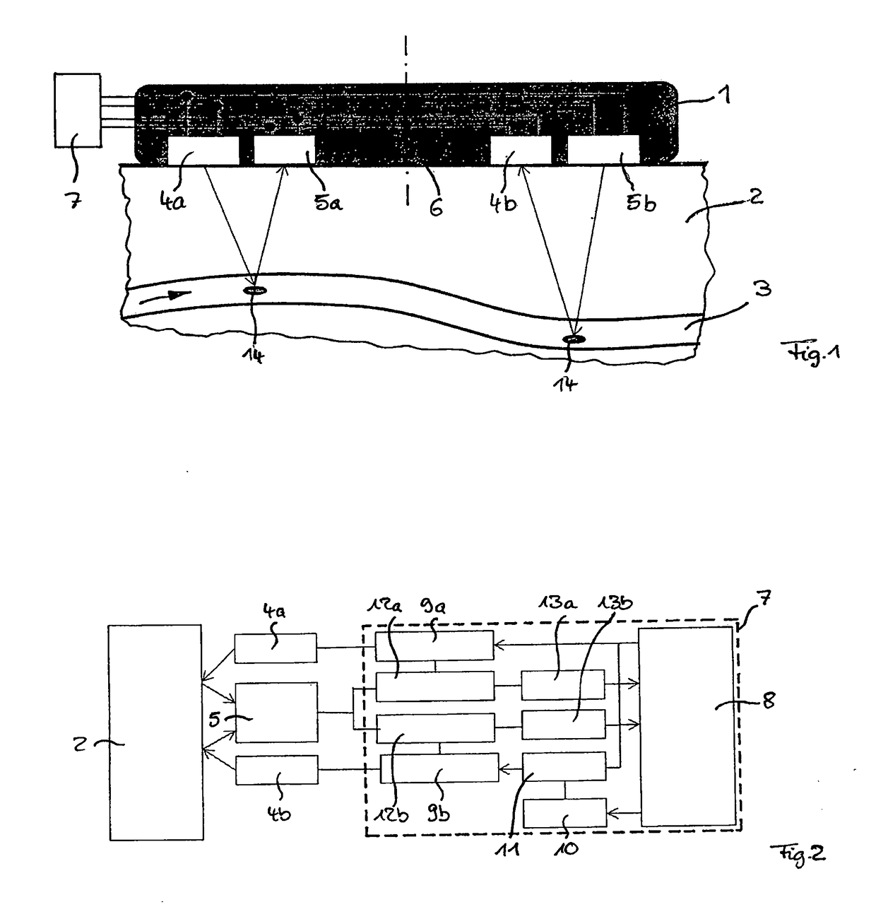
标题:
A method for determining blood pressure in a blood vessel and device for carrying out said method
授权日:
1900-01-01
公开(公告)号:
US20170112396A1
申请日:
2014-04-04
公开(公告)日:
2017-04-27
当前申请(专利权)人:
PHILIPS MEDIZIN SYSTEME BÖBLINGEN GMBH
发明人:
PFEIFFER, ULRICH | KNOLL, REINHOLD
简单同族:
CN106455982A | CN106455982B | EP3125743A1 | JP2017510411A | JP6508325B2 | US10485432 | US20170112396A1 | WO2015149822A1
简单同族成员数量:
8
简单同族被引用专利总数:
5
诉讼案件数:
0
法律状态/事件:
授权 | 权利转移