标题:
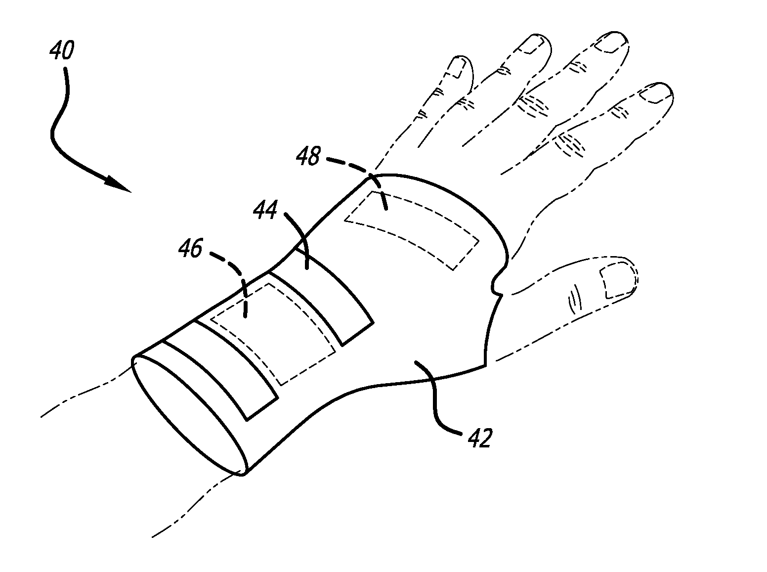
Modular Low-Level Light Therapy System Employing Semiconductor Light Sources
授权日:
1900-01-01
公开(公告)号:
US20160263395A1
申请日:
2015-06-23
公开(公告)日:
2016-09-15
当前申请(专利权)人:
FLEXLITE CORPORATION
发明人:
SIEGEL, LAWRENCE | HARRISON, JAMES | NAHASS, PAUL | ROMERO, OSCAR | QUARLES, GREGORY | SWIENTON, BRIAN
简单同族:
US20160263395A1 | WO2015200380A1
简单同族成员数量:
2
简单同族被引用专利总数:
10
诉讼案件数:
0
法律状态/事件:
实质审查 | 质押 | 权利转移