首页
专利数据库
产业人才
行业动态
产业政策法规
维权援助
个人中心
登录/注册
详情
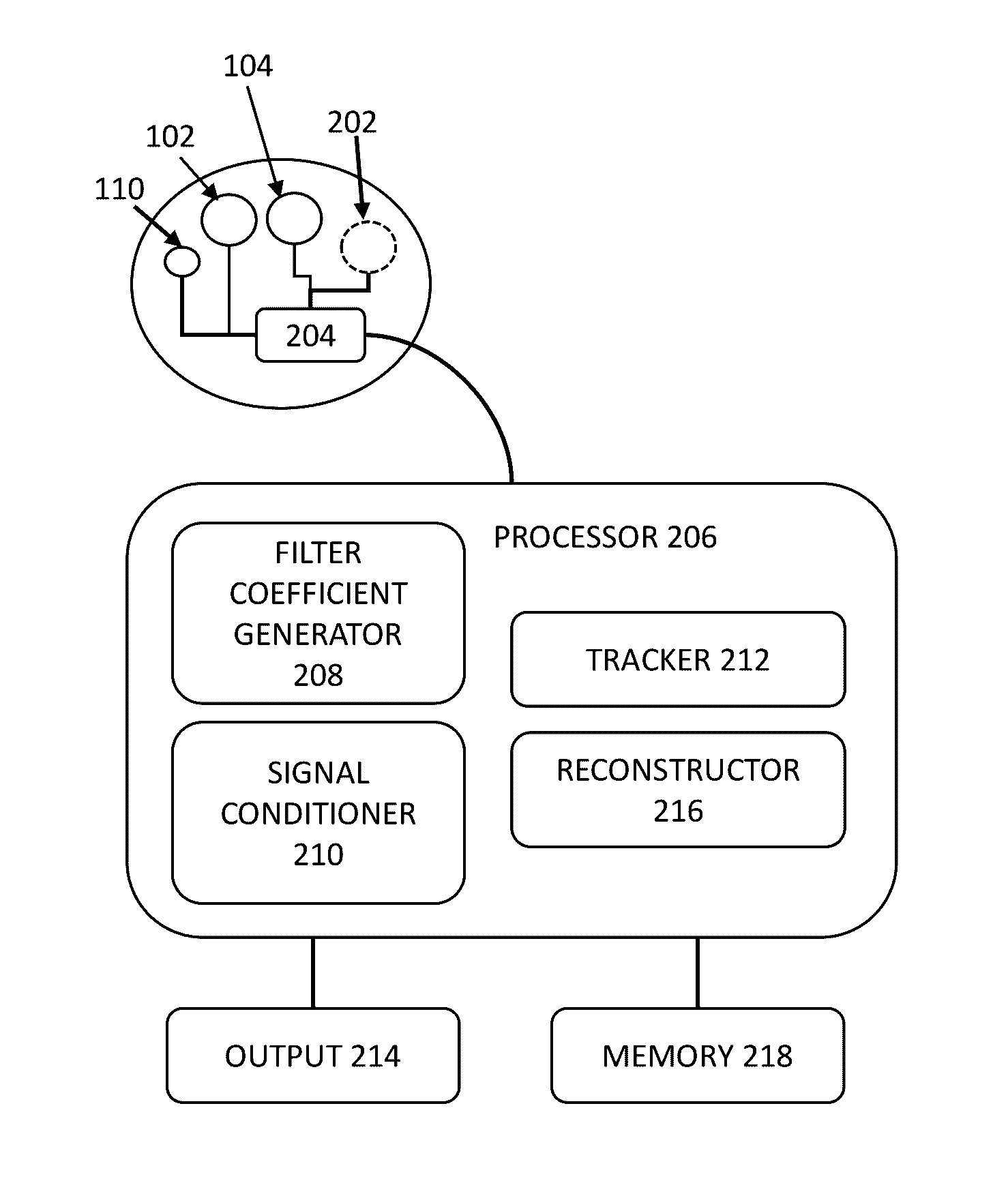
文本
图像
标题:
Tracking mechanism for heart rate measurements
授权日:
1900-01-01
公开(公告)号:
US20160317097A1
申请日:
2015-12-17
公开(公告)日:
2016-11-03
当前申请(专利权)人:
ANALOG DEVICES, INC.
发明人:
ADAMS, ROBERT | DEMIRTAS, SEFA | BERNSTEIN, JEFFREY G.
简单同族:
CN107949321A | US20160317096A1 | US20160317097A1 | US9901306 | US9943266
简单同族成员数量:
5
简单同族被引用专利总数:
14
诉讼案件数:
0
法律状态/事件:
授权 | 权利转移