标题:
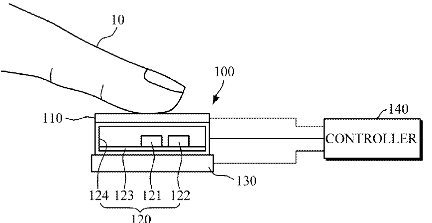
Touch-type blood pressure measurement apparatus and method
授权日:
1900-01-01
公开(公告)号:
US20180177413A1
申请日:
2017-08-18
公开(公告)日:
2018-06-28
当前申请(专利权)人:
SAMSUNG ELECTRONICS CO., LTD.
发明人:
KWON, YONG JOO | KANG, JAE MIN | KIM, YOUN HO | NOH, SEUNG WOO | PARK, SANG YUN | YOON, YOUNG ZOON
简单同族:
CN108236460A | EP3342336A1 | JP2018102906A | KR1020180076050A | US20180177413A1
简单同族成员数量:
5
简单同族被引用专利总数:
8
诉讼案件数:
0
法律状态/事件:
实质审查 | 权利转移