标题:
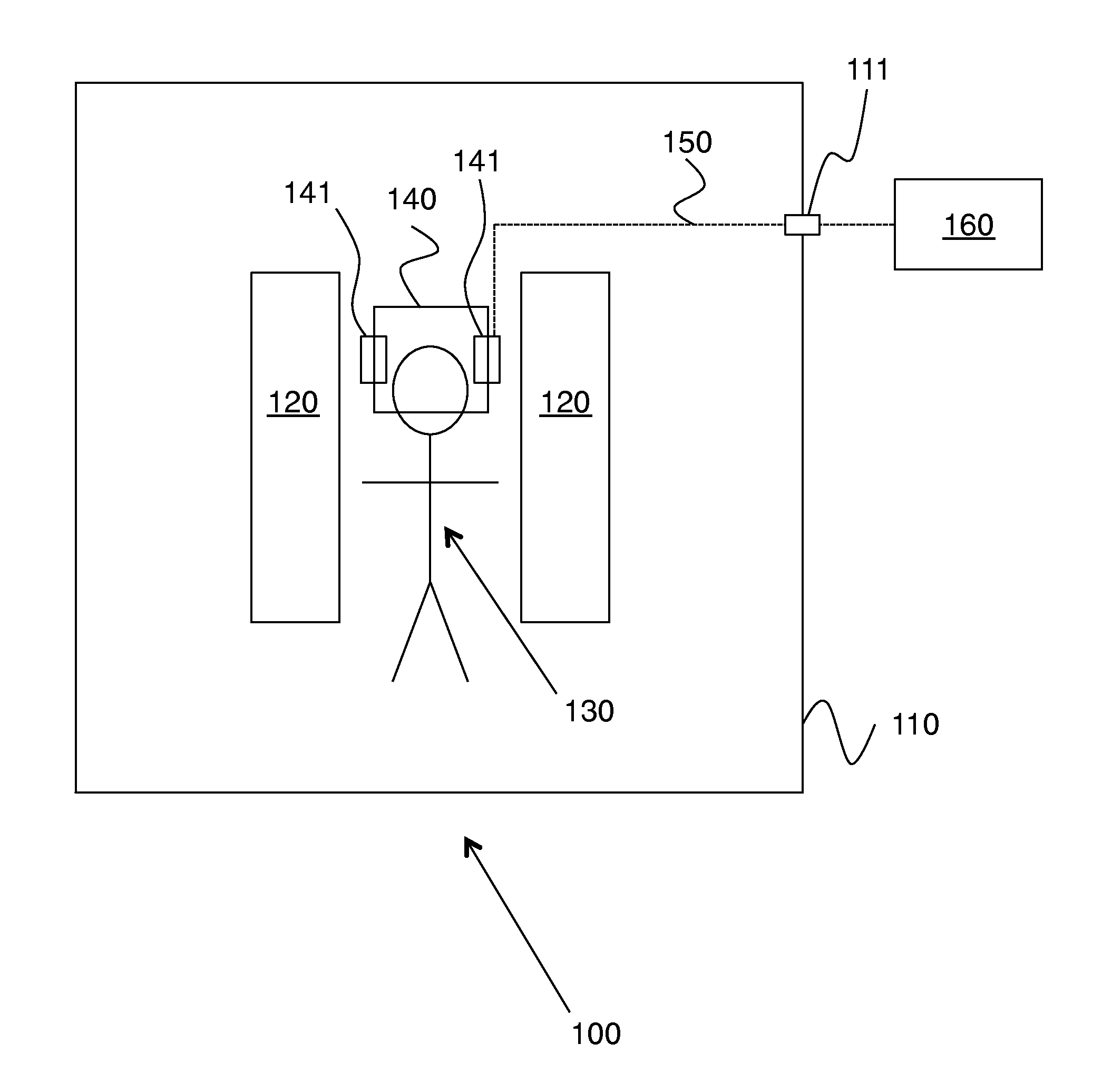
Apparatus for Obtaining High-quality Optical Images in a Magnetic Resonance Imaging System
授权日:
1900-01-01
公开(公告)号:
US20160228005A1
申请日:
2014-09-17
公开(公告)日:
2016-08-11
当前申请(专利权)人:
THE BOARD OF TRUSTEES OF THE LELAND STANFORD JUNIOR UNIVERSITY
发明人:
BAMMER, ROLAND | AKSOY, MURAT | MACLAREN, JULIAN
简单同族:
CN105555189A | CN105555189B | DE112014004250T5 | JP2016530054A | JP6499662B2 | US10058248 | US20160228005A1 | WO2015042138A1
简单同族成员数量:
8
简单同族被引用专利总数:
15
诉讼案件数:
0
法律状态/事件:
授权 | 权利转移