标题:
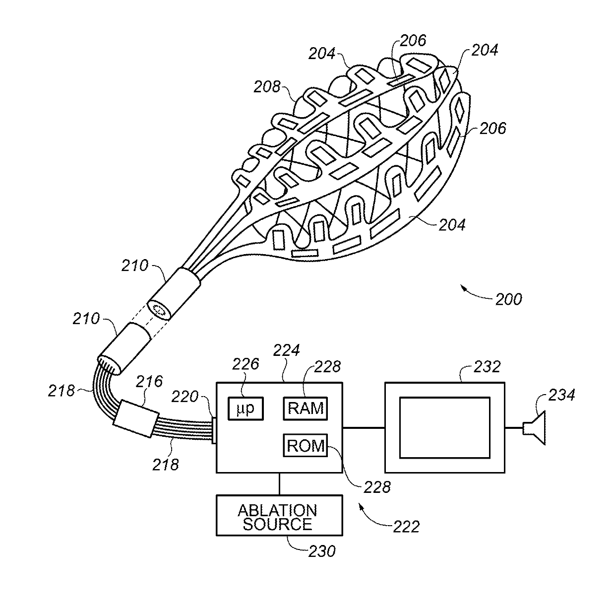
Medical device for use in bodily lumens, for example an atrium
授权日:
1900-01-01
公开(公告)号:
US20190328452A1
申请日:
2019-05-09
公开(公告)日:
2019-10-31
当前申请(专利权)人:
KARDIUM INC.
发明人:
GELBART, DANIEL | GOERTZEN, DOUGLAS WAYNE | LOPES, FERNANDO LUIS DE SOUZA
简单同族:
DE112008003108T5 | US10499986 | US20090131930A1 | US20110172658A1 | US20140213894A1 | US20140214028A1 | US20150045660A1 | US20150157400A1 | US20150245798A1 | US20150250539A1 | US20170333124A1 | US20180036074A1 | US20180036075A1 | US20180036076A1 | US20180036077A1 | US20190328452A1 | US20200046426A1 | US20200054394A1 | US8906011 | US8932287 | US9585717 | US9603661 | US9750569 | US9820810 | US9839474 | US9877779 | WO2009065042A2 | WO2009065042A3
简单同族成员数量:
28
简单同族被引用专利总数:
233
诉讼案件数:
0
法律状态/事件:
实质审查 | 权利转移