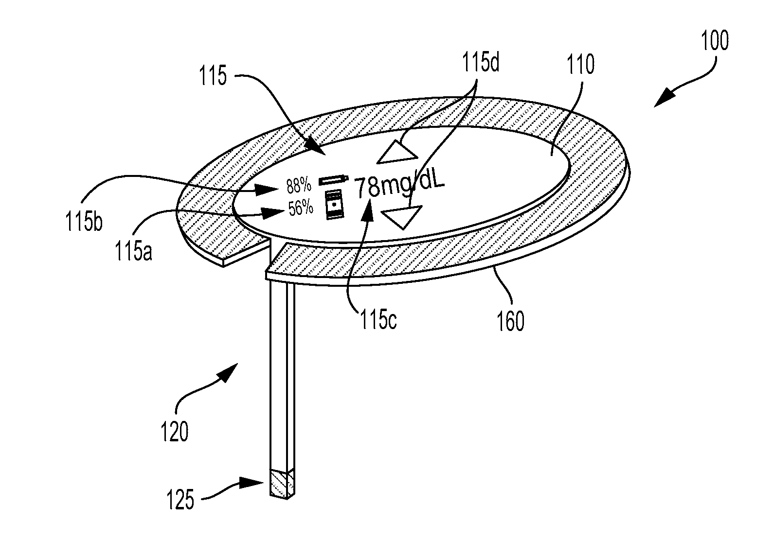
标题:
User interactions for a bandage type monitoring device
授权日:
1900-01-01
公开(公告)号:
US20160262670A1
申请日:
2015-03-13
公开(公告)日:
2016-09-15
当前申请(专利权)人:
VERILY LIFE SCIENCES LLC | GOOGLE LLC
发明人:
WASSON, JACLYN LEVERETT | LIU, ZENGHE | OTIS, BRIAN | BIEDERMAN, WILLIAM JAMES
简单同族:
CN107405112A | EP3244794A1 | US10201295 | US20160262670A1 | WO2016148906A1
简单同族成员数量:
5
简单同族被引用专利总数:
6
诉讼案件数:
0
法律状态/事件:
授权 | 权利转移