首页
专利数据库
产业人才
行业动态
产业政策法规
维权援助
个人中心
登录/注册
详情
文本
图像
标题:
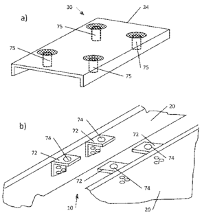
Relocatable/replaceable pad for accurate vehicle occupant weight measurement
授权日:
2018-07-10
公开(公告)号:
US10017078
申请日:
2017-10-18
公开(公告)日:
2018-07-10
当前申请(专利权)人:
KRIGER, YEFIM G
发明人:
KRIGER, YEFIM G
简单同族:
US10017078 | US20180043795A1
简单同族成员数量:
2
简单同族被引用专利总数:
0
诉讼案件数:
0
法律状态/事件:
授权