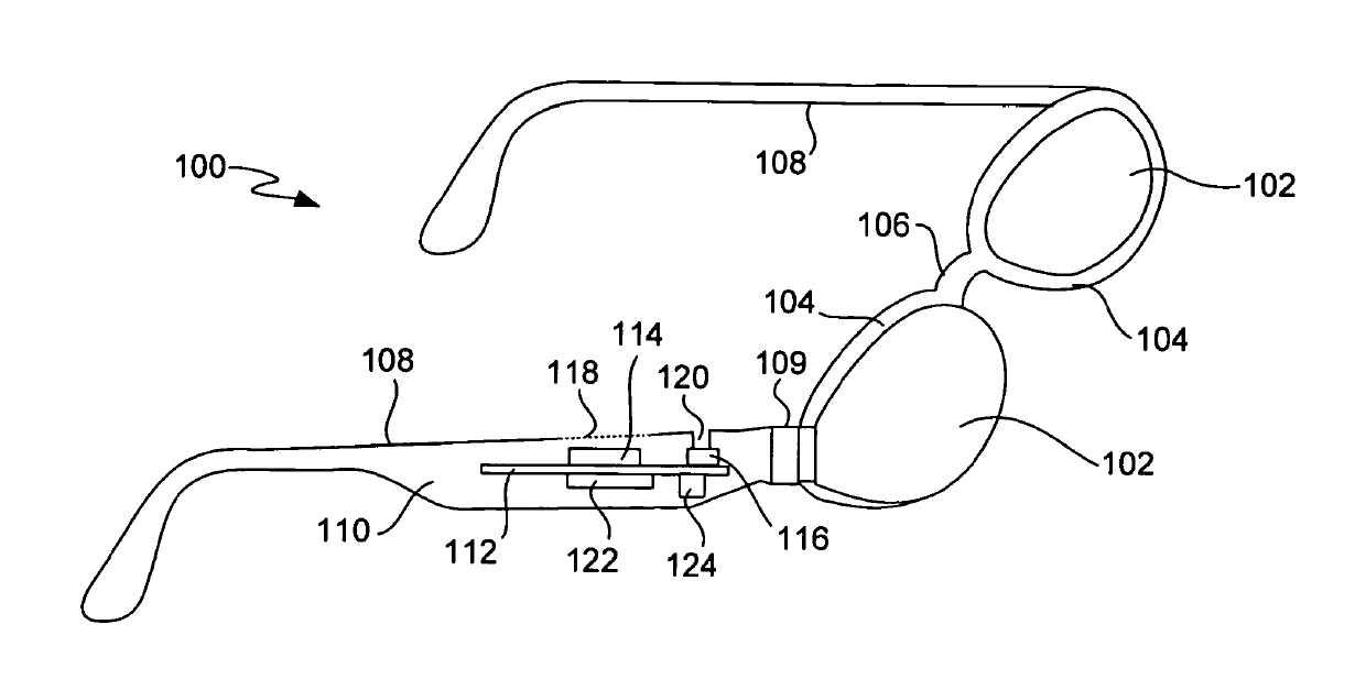
标题:
Eyewear with radiation detection system
授权日:
2019-07-23
公开(公告)号:
US10359311
申请日:
2018-08-14
公开(公告)日:
2019-07-23
当前申请(专利权)人:
INGENIOSPEC, LLC
发明人:
HOWELL, THOMAS A. | CHAO, DAVID | THOMAS, C. DOUGLASS | TONG, PETER P.
简单同族:
US10060790 | US10359311 | US10539459 | US20090059159A1 | US20090147215A1 | US20140361185A1 | US20170074721A1 | US20180348050A1 | US20190310132A1 | US20200109986A1 | US7500746 | US8770742 | US9488520
简单同族成员数量:
13
简单同族被引用专利总数:
231
诉讼案件数:
0
法律状态/事件:
授权