首页
专利数据库
产业人才
行业动态
产业政策法规
维权援助
个人中心
登录/注册
详情
文本
图像
标题:
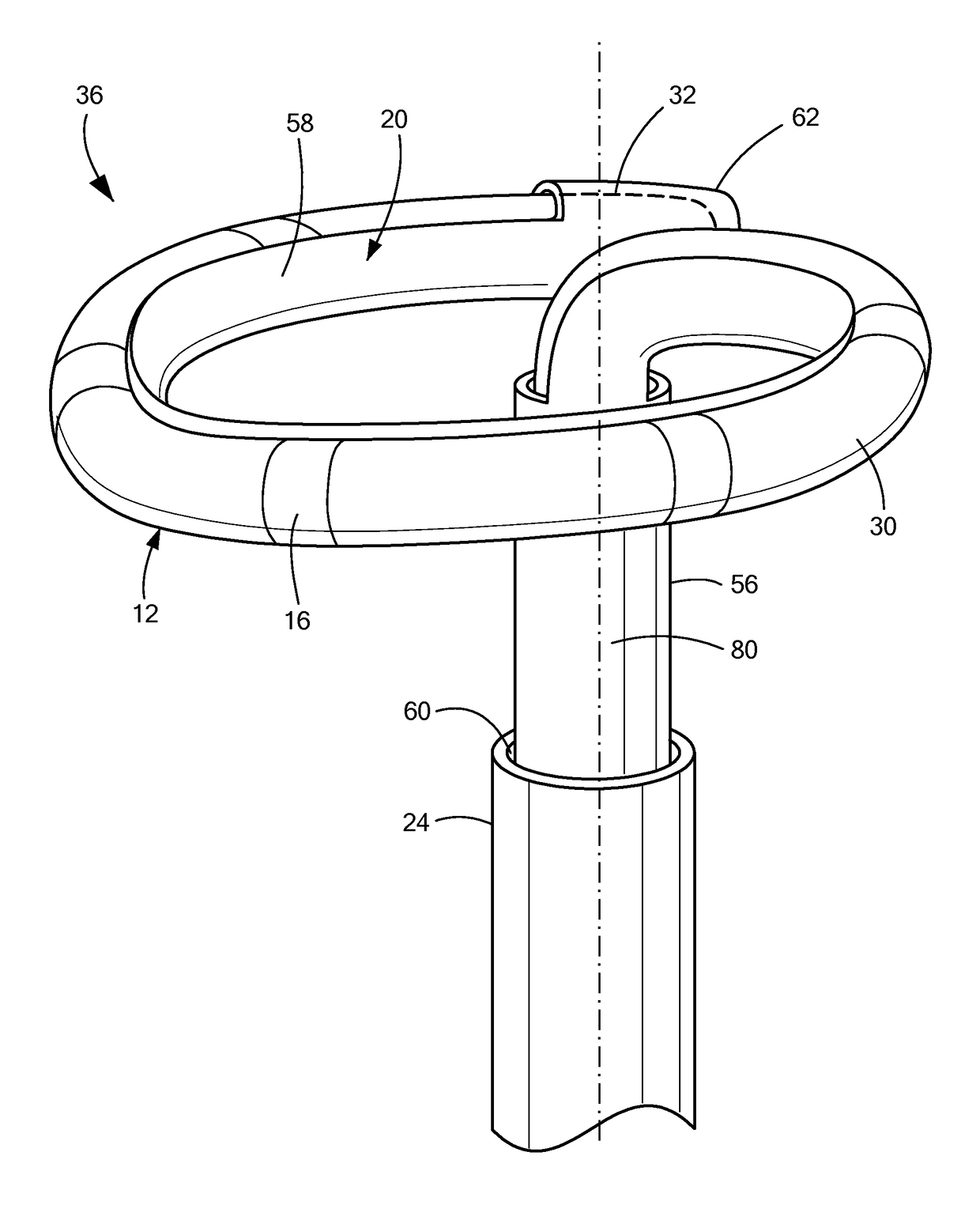
Supporting catheter for use for phrenic nerve pacing
授权日:
2019-02-05
公开(公告)号:
US10194978
申请日:
2014-06-13
公开(公告)日:
2019-02-05
当前申请(专利权)人:
MEDTRONIC CRYOCATH LP
发明人:
COULOMBE, NICOLAS
简单同族:
CN106659870A | CN106659870B | EP3154619A1 | EP3154619A4 | US10194978 | US20150359487A1 | WO2015188250A1
简单同族成员数量:
7
简单同族被引用专利总数:
9
诉讼案件数:
0
法律状态/事件:
授权 | 权利转移