首页
专利数据库
产业人才
行业动态
产业政策法规
维权援助
个人中心
登录/注册
详情
文本
图像
标题:
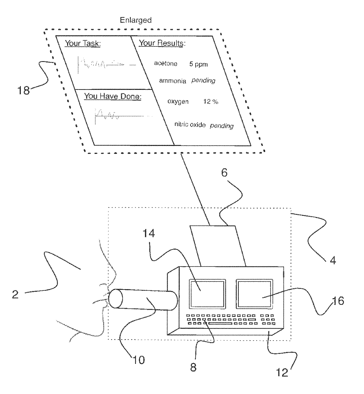
Breath analysis device
授权日:
1900-01-01
公开(公告)号:
US20190261891A1
申请日:
2018-12-28
公开(公告)日:
2019-08-29
当前申请(专利权)人:
INVOY HOLDINGS, LLC
发明人:
AHMAD, LUBNA M. | SMITH, ZACHARY | AHMAD, SALMAN A.
简单同族:
US10226201 | US20170119279A1 | US20170119280A1 | US20170224251A1 | US20190261891A1
简单同族成员数量:
5
简单同族被引用专利总数:
14
诉讼案件数:
0
法律状态/事件:
实质审查