首页
专利数据库
产业人才
行业动态
产业政策法规
维权援助
个人中心
登录/注册
详情
文本
图像
标题:
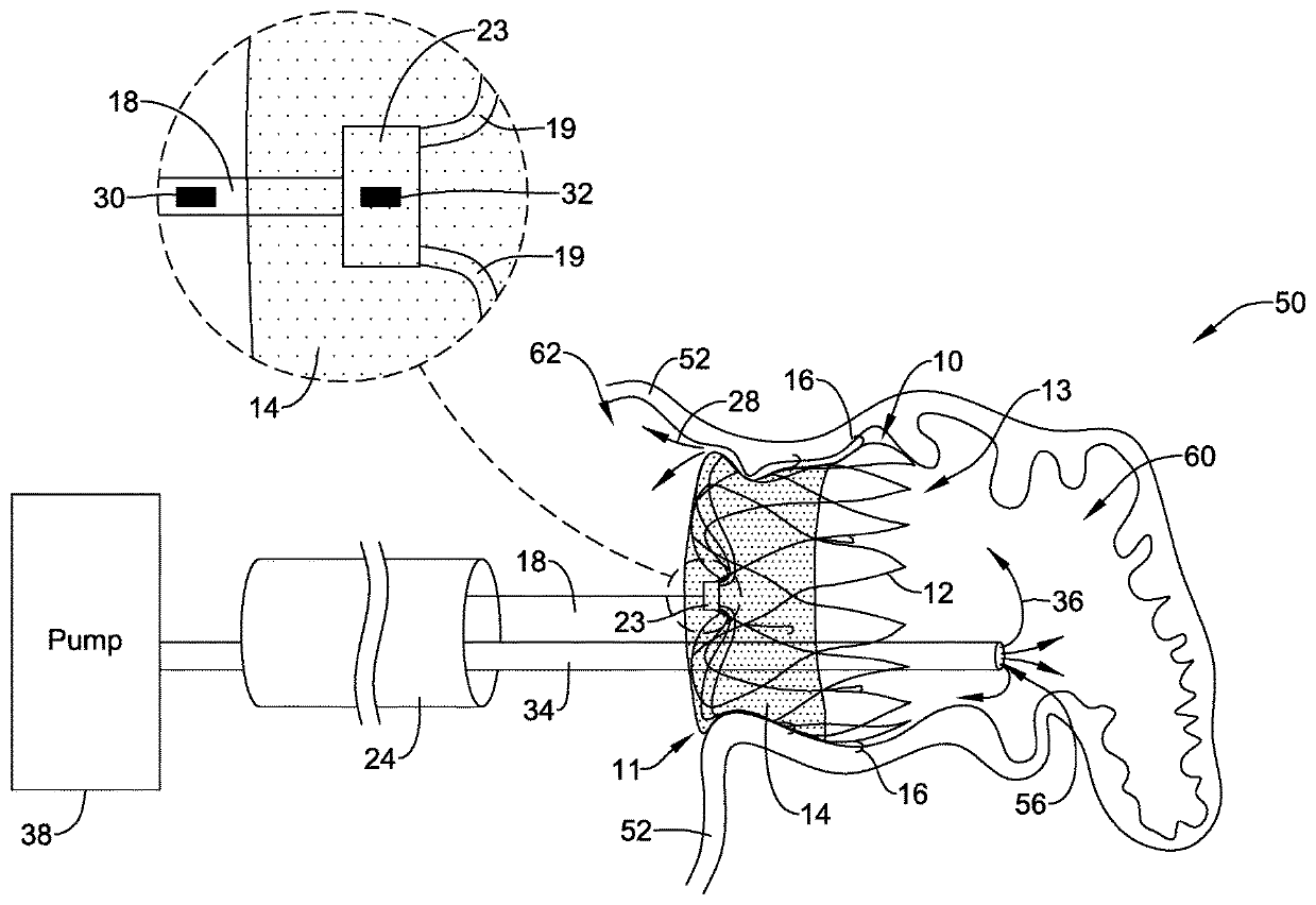
Occlusive sealing sensor system
授权日:
1900-01-01
公开(公告)号:
US20190336135A1
申请日:
2019-05-01
公开(公告)日:
2019-11-07
当前申请(专利权)人:
BOSTON SCIENTIFIC SCIMED, INC.
发明人:
INOUYE, JOSHUA MARK | PFLUGFELDER, ALEX | BERG, BRIAN T. | ONUSHKO, DAVID JOHN | ANDERSON, JAMES M. | LOHI, MARKUS PETTERI
简单同族:
US20190336135A1 | WO2019213274A1
简单同族成员数量:
2
简单同族被引用专利总数:
0
诉讼案件数:
0
法律状态/事件:
实质审查 | 权利转移