标题:
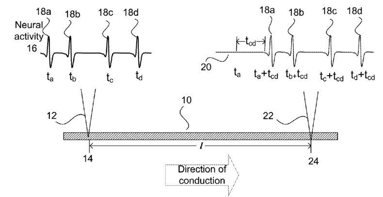
Method and system for modulating neural activity
授权日:
1900-01-01
公开(公告)号:
US20180104407A1
申请日:
2017-10-13
公开(公告)日:
2018-04-19
当前申请(专利权)人:
GEARBOX, LLC
发明人:
DACEY, JR., RALPH G. | DELLA ROCCA, GREGORY J. | DERDEYN, COLIN P. | DOWLING, JOSHUA L. | GOODALL, ELEANOR V. | HYDE, RODERICK A. | ISHIKAWA, MURIEL Y. | KARE, JORDIN T. | LEUTHARDT, ERIC C. | MYHRVOLD, NATHAN P. | SMITH, MICHAEL A. | WOOD, JR., LOWELL L. | WOOD, VICTORIA Y.H. | ZIPFEL, GREGORY J.
简单同族:
US10092692 | US20090149897A1 | US20090149914A1 | US20120172652A1 | US20140163432A1 | US20140163483A1 | US20140163647A1 | US20150283365A1 | US20160354606A1 | US20180104407A1 | US20190038831A1 | US8180447 | US8233976 | US8630706 | US9014802 | US9020591 | US9020592 | US9358374 | US9789315
简单同族成员数量:
19
简单同族被引用专利总数:
72
诉讼案件数:
0
法律状态/事件:
授权