标题:
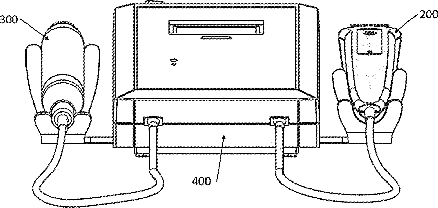
Diagnostic Device, Therapeutic Device, and Uses Thereof
授权日:
1900-01-01
公开(公告)号:
US20140039322A1
申请日:
2013-03-14
公开(公告)日:
2014-02-06
当前申请(专利权)人:
CERCA IP, LLC
发明人:
TRUJILLO, JOSE ROBERTO | MENDONCA RIBEIRO, FERNANDO DE MORAES
简单同族:
BR112015002459A2 | CA2887770A1 | CN104736044A | CN104736044B | CN108236449A | EP2879567A1 | IN550KOLNP2015A | JP2015531619A | JP2015531619A5 | JP2018143843A | JP6364006B2 | JP6670892B2 | MX2013008957A | MX348914B | TW201424696A | TWI657801B | US20140039322A1 | US20170100073A1 | US9550072 | WO2014022792A1
简单同族成员数量:
20
简单同族被引用专利总数:
16
诉讼案件数:
0
法律状态/事件:
授权 | 权利转移