标题:
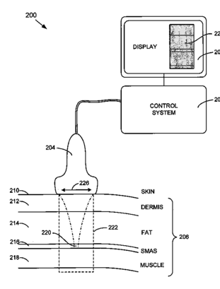
Methods for noninvasive skin tightening
授权日:
2016-04-26
公开(公告)号:
US9320537
申请日:
2013-08-12
公开(公告)日:
2016-04-26
当前申请(专利权)人:
GUIDED THERAPY SYSTEMS, LLC
发明人:
SLAYTON, MICHAEL H. | BARTHE, PETER G. | MAKIN, INDER RAJ S. | O'CONNOR, BRIAN D.
简单同族:
US10525288 | US20080214966A1 | US20140024974A1 | US20140188145A1 | US20160228729A1 | US20180236273A1 | US20200094083A1 | US8535228 | US9320537 | US9974982
简单同族成员数量:
10
简单同族被引用专利总数:
139
诉讼案件数:
0
法律状态/事件:
授权 | 权利转移