首页
专利数据库
产业人才
行业动态
产业政策法规
维权援助
个人中心
登录/注册
详情
文本
图像
标题:
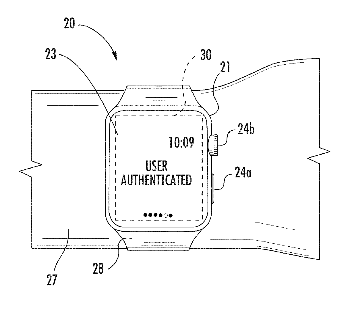
Wearable electronic device including wrist biometric sensor for acquiring skin texture pattern images and related methods
授权日:
2019-09-03
公开(公告)号:
US10398370
申请日:
2018-05-23
公开(公告)日:
2019-09-03
当前申请(专利权)人:
APPLE INC.
发明人:
BOSHRA, MICHAEL | SETLAK, DALE R.
简单同族:
US10398370 | US20190000370A1
简单同族成员数量:
2
简单同族被引用专利总数:
0
诉讼案件数:
0
法律状态/事件:
授权 | 权利转移