首页
专利数据库
产业人才
行业动态
产业政策法规
维权援助
个人中心
登录/注册
详情
文本
图像
标题:
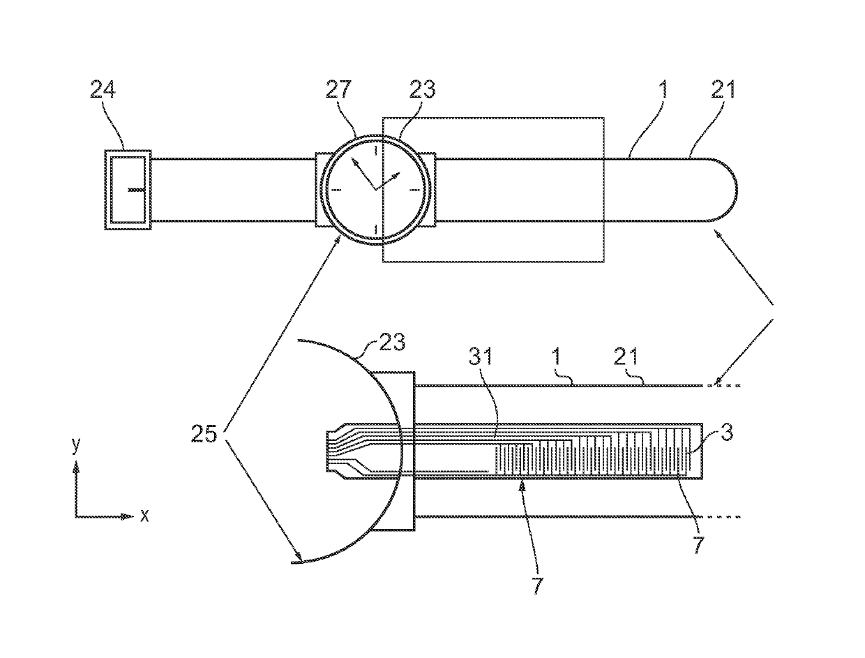
Apparatus, method and computer program for detecting physiological parameters
授权日:
2019-09-17
公开(公告)号:
US10413241
申请日:
2014-06-25
公开(公告)日:
2019-09-17
当前申请(专利权)人:
NOKIA TECHNOLOGIES OY
发明人:
WHITE, RICHARD | BORINI, STEFANO
简单同族:
GB201312720D0 | GB2516259A | US10413241 | US20160143587A1 | WO2015007949A1
简单同族成员数量:
5
简单同族被引用专利总数:
7
诉讼案件数:
0
法律状态/事件:
授权 | 权利转移