首页
专利数据库
产业人才
行业动态
产业政策法规
维权援助
个人中心
登录/注册
详情
文本
图像
标题:
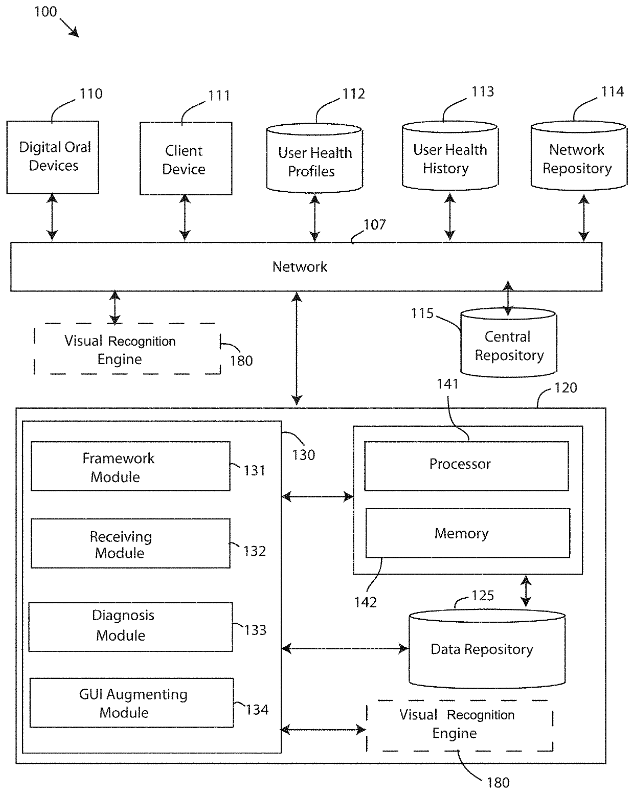
Diagnosis using a digital oral device
授权日:
2020-04-07
公开(公告)号:
US10610161
申请日:
2019-01-03
公开(公告)日:
2020-04-07
当前申请(专利权)人:
INTERNATIONAL BUSINESS MACHINES CORPORATION
发明人:
GOVINDJEE, ANITA | LIU, SU | XU, CHENG | YUAN, HONG CHUAN
简单同族:
US10610161
简单同族成员数量:
1
简单同族被引用专利总数:
0
诉讼案件数:
0
法律状态/事件:
授权 | 权利转移