首页
专利数据库
产业人才
行业动态
产业政策法规
维权援助
个人中心
登录/注册
详情
文本
图像
标题:
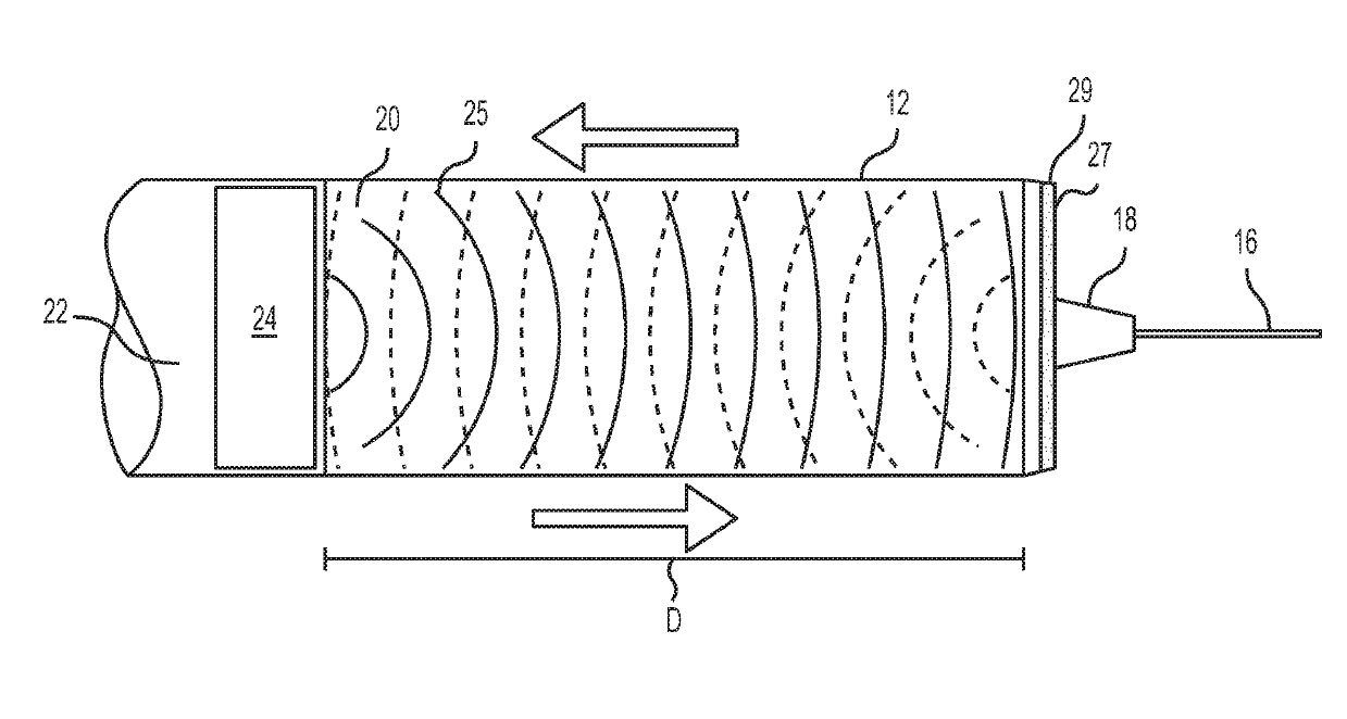
Ultrasound tracking of medication delivery by medication injection devices
授权日:
2019-09-17
公开(公告)号:
US10413676
申请日:
2017-10-23
公开(公告)日:
2019-09-17
当前申请(专利权)人:
VERILY LIFE SCIENCES LLC
发明人:
KRASNOW, BENJAMIN DAVID
简单同族:
US10413676 | US20190374723A1
简单同族成员数量:
2
简单同族被引用专利总数:
0
诉讼案件数:
0
法律状态/事件:
授权 | 权利转移