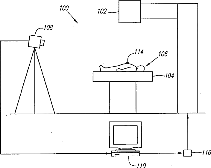
标题:
Method and system for radiation application
授权日:
1900-01-01
公开(公告)号:
US20140371581A1
申请日:
2014-04-07
公开(公告)日:
2014-12-18
当前申请(专利权)人:
VARIAN MEDICAL SYSTEMS, INC.
发明人:
MOSTAFAVI, HASSAN | HAMPTON, LISA ANN
简单同族:
EP1677675A2 | EP1677675A4 | EP1677675B1 | HK1093878A | US10646188 | US20040116804A1 | US20040138557A1 | US20140371581A1 | US7620444 | US8788020 | WO2005032647A2 | WO2005032647A3
简单同族成员数量:
12
简单同族被引用专利总数:
342
诉讼案件数:
0
法律状态/事件:
授权 | 权利转移