首页
专利数据库
产业人才
行业动态
产业政策法规
维权援助
个人中心
登录/注册
详情
文本
图像
标题:
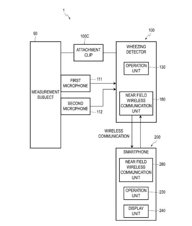
Wheezing detection apparatus
授权日:
1900-01-01
公开(公告)号:
US20170325777A1
申请日:
2017-08-04
公开(公告)日:
2017-11-16
当前申请(专利权)人:
OMRON HEALTHCARE CO., LTD.
发明人:
ASAI, KEI
简单同族:
CN107205692A | CN107205692B | DE112015006231T5 | JP2016158806A | JP2016158806A5 | JP6414486B2 | US20170325777A1 | WO2016136049A1
简单同族成员数量:
8
简单同族被引用专利总数:
5
诉讼案件数:
0
法律状态/事件:
实质审查 | 权利转移