标题:
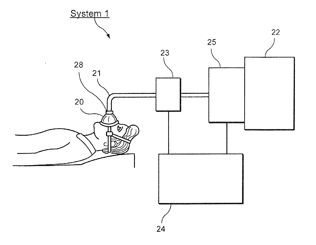
System and Method for Diagnosis and Treatment of a Breathing Pattern of a Patient
授权日:
1900-01-01
公开(公告)号:
US20190358419A1
申请日:
2019-08-07
公开(公告)日:
2019-11-28
当前申请(专利权)人:
NEW YORK UNIVERSITY
发明人:
RAPOPORT, DAVID M. | NORMAN, ROBERT G.
简单同族:
US10384024 | US20060102179A1 | US20110166470A1 | US20150107594A1 | US20150165147A1 | US20160151595A1 | US20170326316A1 | US20190358419A1 | US7896812 | US9108009 | US9168344 | US9427539 | US9867955
简单同族成员数量:
13
简单同族被引用专利总数:
73
诉讼案件数:
0
法律状态/事件:
实质审查 | 权利转移