标题:
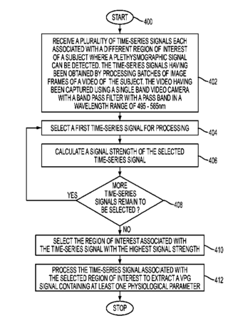
Selecting a region of interest for extracting physiological parameters from a video of a subject
授权日:
2018-06-05
公开(公告)号:
US9986923
申请日:
2015-01-09
公开(公告)日:
2018-06-05
当前申请(专利权)人:
XEROX CORPORATION
发明人:
MESTHA, LALIT KESHAV | HOOVER, MARTIN EDWARD | KYAL, SURVI
简单同族:
DE102016200045A1 | JP2016127923A | US20160198965A1 | US9986923
简单同族成员数量:
4
简单同族被引用专利总数:
5
诉讼案件数:
0
法律状态/事件:
授权 | 权利转移