首页
专利数据库
产业人才
行业动态
产业政策法规
维权援助
个人中心
登录/注册
详情
文本
图像
标题:
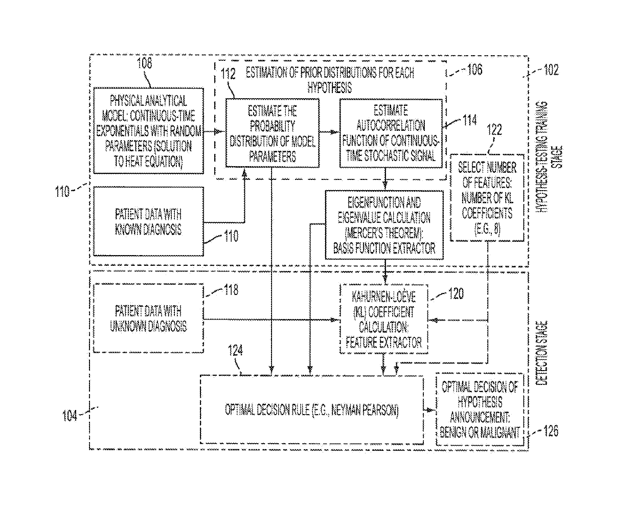
Methods and systems for detecting cancer
授权日:
2019-05-07
公开(公告)号:
US10278649
申请日:
2015-11-24
公开(公告)日:
2019-05-07
当前申请(专利权)人:
STC.UNM
发明人:
HAYAT, MAJEED M. | KRISHNA, SANJAY | GODOY, SEBASTIAN EUGENIO | RAMIREZ, DAVID A.
简单同族:
US10278649 | US20180333105A1 | WO2016086034A1
简单同族成员数量:
3
简单同族被引用专利总数:
4
诉讼案件数:
0
法律状态/事件:
授权