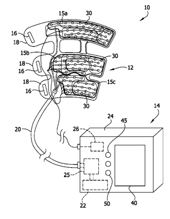
标题:
Angiosome-based perfusion monitoring system
授权日:
2017-11-14
公开(公告)号:
US9814401
申请日:
2013-06-27
公开(公告)日:
2017-11-14
当前申请(专利权)人:
COVIDIEN LP
发明人:
MCPEAK, THOMAS
简单同族:
AU2013206663A1 | AU2013206663B2 | BR102013017422A2 | CA2819803A1 | CA2819803C | CN103519802A | CN103519802B | EP2682051A1 | EP2682051B1 | JP2014014684A | JP2015042255A | JP5634568B2 | KR101502220B1 | KR1020140005826A | RU2013130168A | RU2587949C2 | US10383533 | US20140012108A1 | US20180035904A1 | US9814401
简单同族成员数量:
20
简单同族被引用专利总数:
12
诉讼案件数:
0
法律状态/事件:
授权