标题:
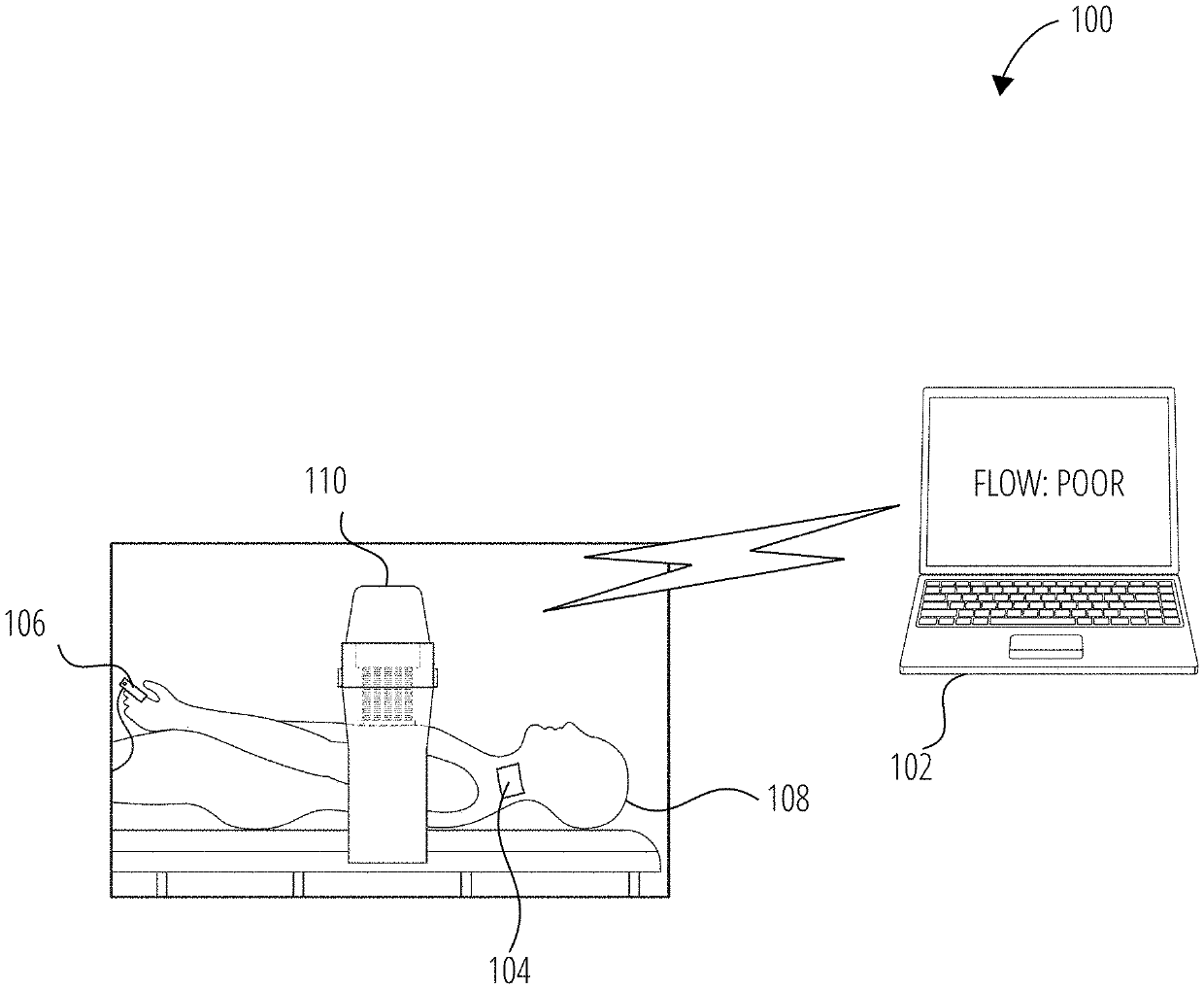
System and method of noninvasive blood flow measurement during cardiopulmonary resuscitation using signal gating
授权日:
1900-01-01
公开(公告)号:
US20200107989A1
申请日:
2019-10-09
公开(公告)日:
2020-04-09
当前申请(专利权)人:
UNIVERSITY OF WASHINGTON | UNIVERSITY OF PITTSBURGH - OF THE COMMONWEALTH SYSTEM OF HIGHER EDUCATION
发明人:
ADEDIPE, ADEYINKA | NICHOL, GRAHAM | MOURAD, PIERRE D. | SALCIDO, DAVID | KUCEWICZ, JOHN | SUNDERMANN, MATTHEW
简单同族:
US20200107989A1
简单同族成员数量:
1
简单同族被引用专利总数:
0
诉讼案件数:
0
法律状态/事件:
公开