标题:
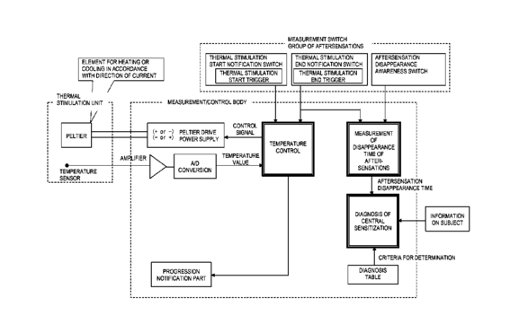
Central sensitization diagnosis device and method for operating same
授权日:
2017-06-20
公开(公告)号:
US9681837
申请日:
2013-02-19
公开(公告)日:
2017-06-20
当前申请(专利权)人:
ICST CORPORATION | KEIO UNIVERSITY
发明人:
WAJIMA, KOICHI | SATO, HITOSHI | SAISU, HIRONORI | MURAOKA, WATARU | NAKAGAWA, TANEAKI | KATO, YASUNORI
简单同族:
EP2818120A1 | EP2818120A4 | JP6183813B2 | JPWO2013125518A1 | US20150065909A1 | US9681837 | WO2013125518A1
简单同族成员数量:
7
简单同族被引用专利总数:
5
诉讼案件数:
0
法律状态/事件:
授权 | 权利转移