标题:
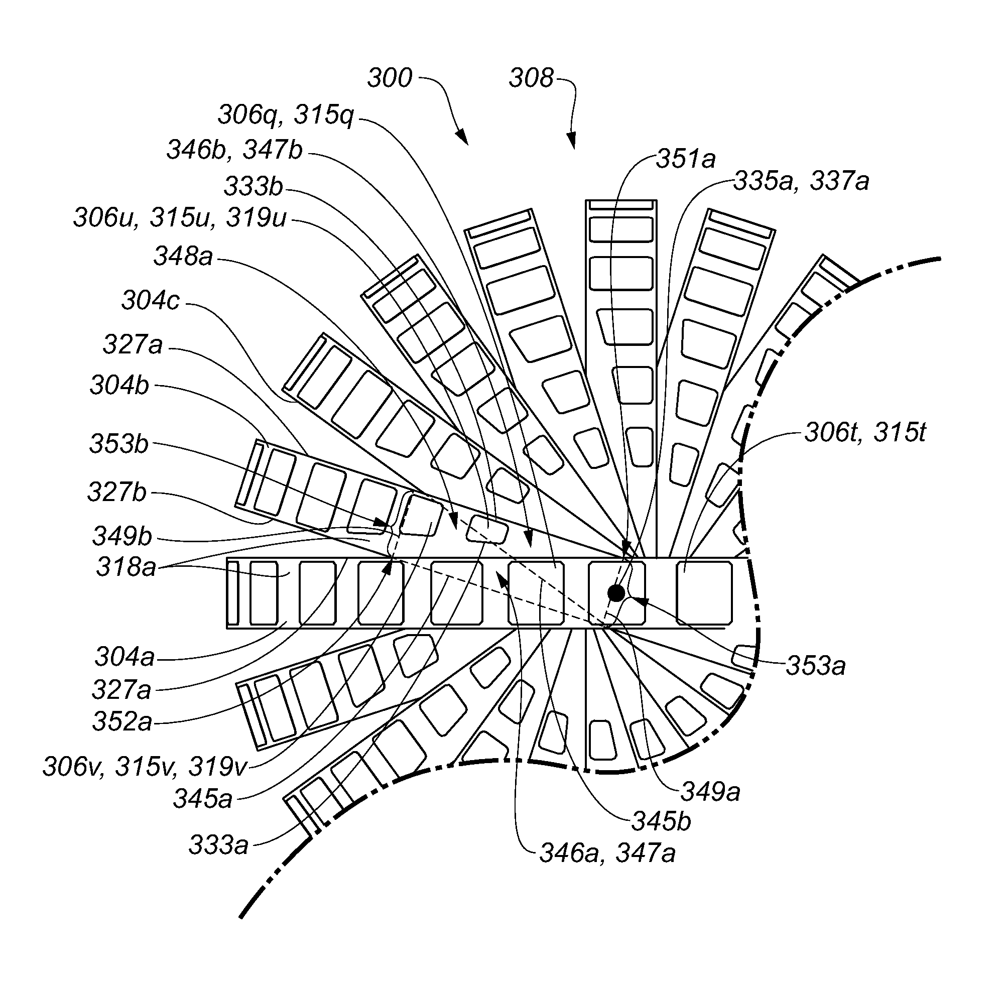
High-density electrode-based medical device system
授权日:
2016-11-01
公开(公告)号:
US9480525
申请日:
2013-03-11
公开(公告)日:
2016-11-01
当前申请(专利权)人:
KARDIUM INC.
发明人:
LOPES, FERNANDO LUIS DE SOUZA | MOISA, SAAR | HAWES, PETER JOSIAH
简单同族:
EP2825121A1 | EP2825121A4 | EP2825121B1 | EP3649975A1 | IN9902DELNP2014A | US20130190587A1 | US20130197513A1 | US20170020604A1 | US20200046425A1 | US9480525 | US9486273 | WO2013173917A1
简单同族成员数量:
12
简单同族被引用专利总数:
69
诉讼案件数:
0
法律状态/事件:
授权 | 权利转移